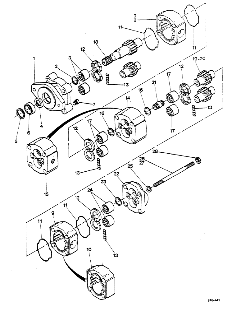
Запчасти Case 580F (442) - REAR AND FRONT HYDRAULIC ATTACHMENTS, PUMP, COMMERCIAL HYDRAULICS (35) - HYDRAULIC SYSTEMS

Схема запчастей Case 580F - (442) - REAR AND FRONT HYDRAULIC ATTACHMENTS, PUMP, COMMERCIAL HYDRAULICS (35) - HYDRAULIC SYSTEMS
12
14
3
24
26
6
7
8
4
13
25
23
17
12
11
19
21
13
2
17
15
20
27
28
11
9
11
16
13
17
16
10
1
12
18
13
5
11
12
22
9
FIT
1:1
100%

Артикул

Название

Примечание

Количество

E42568

PUMP, D30PA02-118, Includes: Ref. 1-28

1шт.

E42640

PUMP, D30PA02-122, Includes: Ref. 1-28

1шт.

L32095

COVER

ASSY., Includes: Ref. 1-7

1шт.

1

NSS

NOT SOLD SEPARAT

COVER

1шт.

2

L32096

RING

1шт.

3

L32097

BEARING, ROLLER, CYL

2шт.

4

L32418

SEAL,26.99mm ID x 42.93mm OD x 7.92mm Thk

1шт.

5

71466

SNAP RING,#206, 2.190", Int, Spiral

RING snap

1шт.

6

73153

BALL

BEARING

1шт.

7

L32320

PLUG

1шт.

S114271

HOUSING

ASSY., for E42640, Includes: Ref. 8-13

1шт.

S114271

HOUSING

ASSY., for E42568, Includes: Ref. 8-13

2шт.

E42666

HOUSING

SPARE PART ASSY., for E42640, Includes: Ref. 8-13

1шт.

8

NSS

NOT SOLD SEPARAT

HOUSING, for E42640

1шт.

9

NSS

NOT SOLD SEPARAT

HOUSING, for E42568

1шт.

10

NSS

NOT SOLD SEPARAT

HOUSING, for E42640

1шт.

11

L32100

SEAL,Square, 3.17mm Thk x 101.6mm ID, 70 Duro

2шт.

12

L32101

PLATE

2шт.

13

E42650

JOINT TURNING

SEAL KIT KIT SEAL

12шт.

S114272

SPARE PART HOUSING ASSY., for E42568, Includes: Ref. 14-17

1шт.

E42665

HOUSING ASSY., for E42640, Includes: Ref. 14-17

1шт.

14

NSS

NOT SOLD SEPARAT

HOUSING, for E42568

1шт.

15

NSS

NOT SOLD SEPARAT

HOUSING, for E42640

1шт.

16

L32096

RING

2шт.

17

L32097

BEARING, ROLLER, CYL

4шт.

18

S116167

GEAR

SET

1шт.

19

S114270

GEAR-SET

SET, for E42568

1шт.

20

E42667

GEAR

SPARE PART SET, for E42640

1шт.

21

L32140

SPARE PART

1шт.

W14027

COVER

ASSY., Includes: Ref. 22, 23 and 24

1шт.

22

NSS

NOT SOLD SEPARAT

COVER

1шт.

23

L32096

RING

1шт.

24

L32097

BEARING, ROLLER, CYL

2шт.

25

D31957

WASHER

4шт.

26

L32968

SPARE PART for E42568

4шт.

27

E42668

STUD

SPARE PART for E42640

4шт.

28

86625068

NUT,5/8"-11, G8

4шт.

Выбрано товаров: 0