Качественные детали и логистика
Оригинальные и аналоговые запчасти с доставкой по России, Казахстану и Беларуси
©2022 PartSell ООО "Система" ИНН 2463123282 ОГРН 1212400004838
Центральный офис: г. Красноярск, Академика Киренского, д.87, пом.4
Телефон: 8 (800) 777-65-74 Email: zakaz@partsell.ru
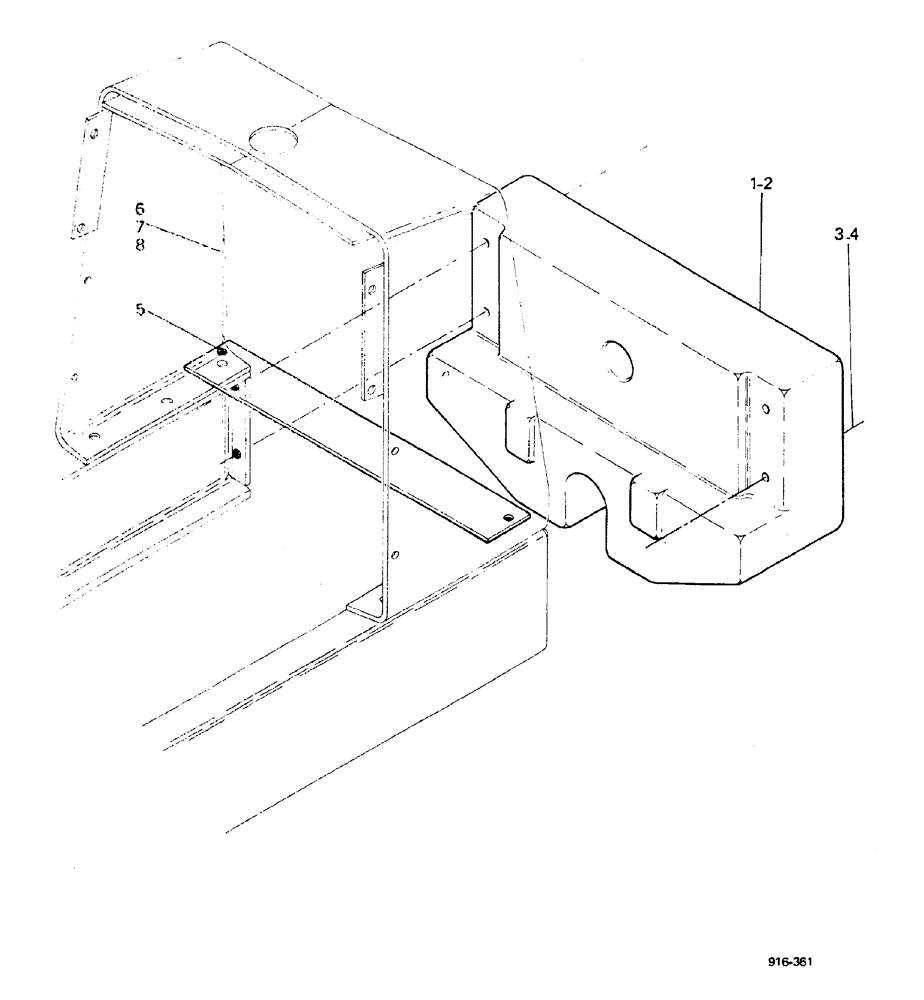
(392) - FRONT COUNTERWIEGHTS
№
Артикул
Название
Примечание
Количество
1
D74743
COUNTERWEIGHT
1шт.
2
3
13-1252
BOLT,Hex, 3/4" - 10 x 3-1/4", Gr 5
4шт.
4
D34666
WASHER,33.34mm ID x 63.5mm OD x 2.38mm Thk
5
D73965
PLATE
6
13-824
BOLT,Hex, 1/2" - 13 x 1-1/2", Gr 5, Full Thd
2шт.
7
92-8
LOCK WASHER,1/2"
8
195-33
WASHER,1/2"
Выбрано товаров: 0