Запчасти Case 580F (370) - WARNING FLASHER (55) - ELECTRICAL SYSTEMS

Схема запчастей Case 580F - (370) - WARNING FLASHER (55) - ELECTRICAL SYSTEMS
10
2
6
3
12
4
11
8
9
7
8
10
5
7
1
FIT
1:1
100%

Артикул

Название

Примечание

Количество

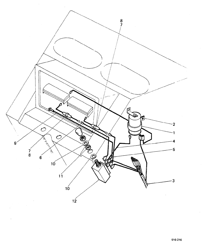
1

E33291

FLASHER UNIT

turn signal control

1шт.

2

A34868

CLAMP

1шт.

3

REF

INSTRUCTION

HARNESS, see Figure 034

1шт.

4

E40268

ELECTRICAL WIRE

WIRE

1шт.

5

E40264

ELECTRICAL WIRE

SPARE PART

1шт.

6

E40265

ELECTRICAL WIRE

WIRE

1шт.

7

E37772

FUSE

HOLDER, Includes: Ref. 8

2шт.

8

E37773

FUSE

10 amp

1шт.

9

E40266

ELECTRICAL WIRE

WIRE

1шт.

10

195-104

WASHER,3/8"

2шт.

11

E40399

BUSHING

1шт.

12

E40333

FLASHER SWITCH

emergency flasher

1шт.

Выбрано товаров: 12