Запчасти Case 580F (270) - AXIAL BACKHOE, LEVERS AND CONTROLS (84) - BOOMS, DIPPERS & BUCKETS

Схема запчастей Case 580F - (270) - AXIAL BACKHOE, LEVERS AND CONTROLS (84) - BOOMS, DIPPERS & BUCKETS
37
1
13
34
32
19
24
25
26
11
22
8
10
28
29
27
39
15
17
18
2
35
21
18
18
10
6
31
5
12
7
18
38
10
18
18
21
14
4
23
16
36
3
41
21
21
33
20
19
30
40
9
20
21
10
27
FIT
1:1
100%

Артикул

Название

Примечание

Количество

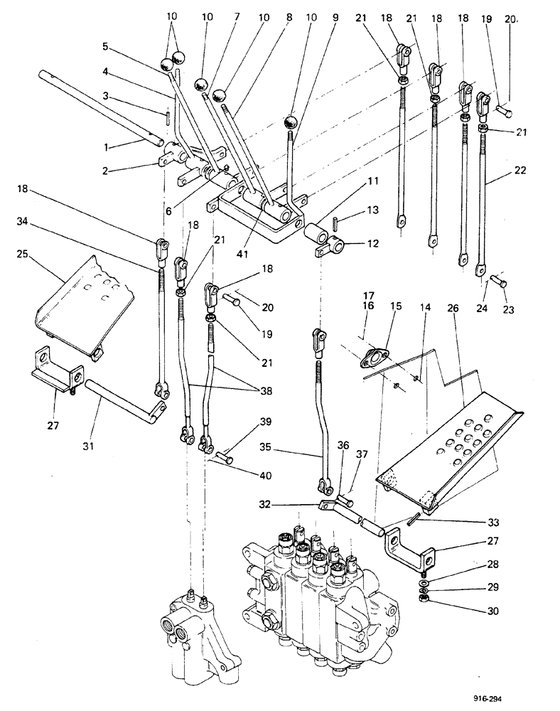
1

D67759

SHAFT

1шт.

2

E40492

DIPPER

BELLCRANK

1шт.

3

138-136

LOCK PIN,1/4" x 1 1/4", Slotted

1шт.

4

E40489

LEVER

HANDLE

1шт.

5

E41566

LEVER

HANDLE

1шт.

6

219-4

LUBE NIPPLE,1/8" - 27 NPTF

4шт.

7

E41567

LEVER

HANDLE

1шт.

8

E41568

LEVER

HANDLE

1шт.

9

E40485

LEVER

HANDLE

1шт.

9

E42123

HANDLE, with extendahoe

1шт.

10

D59912

KNOB

5шт.

11

D95538

SPACER

1шт.

12

E40491

DIPPER

BELLCRANK

1шт.

13

138-136

LOCK PIN,1/4" x 1 1/4", Slotted

1шт.

14

13-612

BOLT,Hex, 3/8" - 16 x 3/4", Gr 5, Full Thd

4шт.

15

L48412

FLANGED BEARING

2шт.

16

92-6

LOCK WASHER,3/8"

4шт.

17

25-106

NUT,3/8"-16, G5

4шт.

18

213-4

ADJUSTABLE CLEVIS,3/8"-24 x 2 1/2"

YOKE

8шт.

19

141-4

CLEVIS PIN,3/8" x 1.060"

8шт.

20

132-26

COTTER PIN

3/32" x 3/4"

8шт.

21

25-116

NUT,Hex, 3/8"-24, G5

6шт.

22

E40235

ROD

SPARE PART

4шт.

23

141-3

CLEVIS PIN,5/16" x .940"

4шт.

24

132-26

COTTER PIN

3/32" x 3/4"

4шт.

25

E40500

PEDAL

L.H.

1шт.

26

E40499

PEDAL

R.H.

1шт.

27

E40497

BRACKET

2шт.

28

95-6

WASHER,3/8"

4шт.

29

92-6

LOCK WASHER,3/8"

4шт.

30

25-106

NUT,3/8"-16, G5

4шт.

31

D50407

SHAFT

L.H.

1шт.

32

D69130

SHAFT

R.H.

1шт.

33

138-139

LOCK PIN,1/4" x 1 5/8", Slotted

2шт.

34

E40495

ROD

1шт.

35

E40494

ROD

1шт.

36

141-4

CLEVIS PIN,3/8" x 1.060"

2шт.

37

132-26

COTTER PIN

3/32" x 3/4"

2шт.

38

E40496

ROD

2шт.

39

141-3

CLEVIS PIN,5/16" x .940"

2шт.

40

132-26

COTTER PIN

3/32" x 3/4"

2шт.

41

195-45

WASHER,3/4"

3шт.

Выбрано товаров: 42