Запчасти Case 580F (324) - SEATS AND POSTS, NOT FOR SWEDEN (90) - PLATFORM, CAB, BODYWORK AND DECALS

Схема запчастей Case 580F - (324) - SEATS AND POSTS, NOT FOR SWEDEN (90) - PLATFORM, CAB, BODYWORK AND DECALS
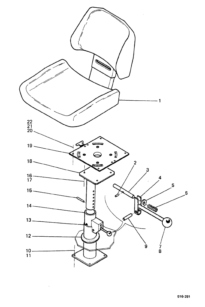
16
17
9
1
13
7
3
14
21
20
22
2
8
5
10
4
6
15
11
19
12
18
FIT
1:1
100%

Артикул

Название

Примечание

Количество

1

E41614

SEAT

see Figure 328

1шт.

1

E41618

SEAT

see Figure 328

1шт.

1

E41780

SEAT

see Figure 330

1шт.

2

138-94

LOCK PIN,3/16" x 7/8", Slotted

1шт.

3

D38261

PIN

1шт.

4

D38258

LOCK

1шт.

5

D49941

SPRING WASHER

1шт.

6

D49774

SPRING

1шт.

7

D38643

KNOB

1шт.

8

D38673

RING

1шт.

9

138-137

LOCK PIN,1/4" x 1 3/8", Slotted

1шт.

10

113-207

BOLT,Hex, 3/8" - 16 x 1", Gr 5

4шт.

11

192-21

LOCK WASHER,3/8"

4шт.

12

E41615

GASKET

1шт.

13

219-1

LUBE NIPPLE,1/8" - 27 NPTF

1шт.

14

E41549

POST

SPARE PART ASSY.

1шт.

14

E41669

SPARE PART

POST ASSY.

1шт.

15

138-161

PIN,5/16" x 2 1/8", Slotted

SPARE PART

1шт.

16

892-1108

LOCK WASHER,M8

4шт.

17

825-1108

NUT,Hex, M8, Cl 8

4шт.

18

E41552

POST

SPARE PART inner

1шт.

19

E41616

PLATE

swivel, see Figure 331A

1шт.

20

113-118

BOLT,Hex, 5/16" - 18 x 5/8", Gr 5

4шт.

21

192-20

LOCK WASHER,Helical Spring, 0.318" ID, CST, ZND

4шт.

22

9635082

NUT,5/16" - 18, Gr 5

4шт.

E19207

SAFETY BELT

SAFETY BELT

1шт.

Not illustrated

1шт.

13-716

BOLT,Hex, 7/16" - 14 x 1", Gr 5

2шт.

Not illustrated

1шт.

92-7

LOCK WASHER,7/16"

2шт.

Not illustrated

1шт.

25-107

NUT,7/16"-14, G5

2шт.

Not illustrated

1шт.

Выбрано товаров: 33