Запчасти Case 580F (334) - ENGINE, COVER AND GRILLE (90) - PLATFORM, CAB, BODYWORK AND DECALS

Схема запчастей Case 580F - (334) - ENGINE, COVER AND GRILLE (90) - PLATFORM, CAB, BODYWORK AND DECALS
13
6
38
33
7
28
8
5
6
39
35
27
32
5
18
29
8
30
36
9
16
1
21
2
22
23
17
4
15
15
12
26
25
3
7
24
14
31
37
20
10
13
11
19
FIT
1:1
100%

Артикул

Название

Примечание

Количество

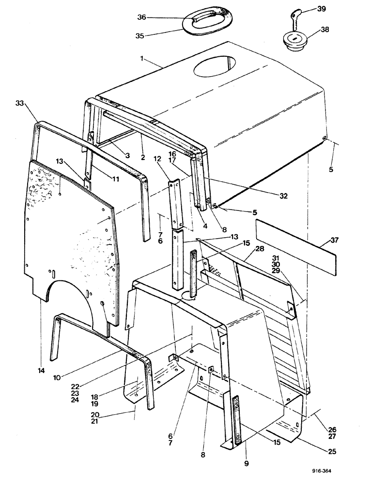
1

E35739

GUARD

SPARE PART COVER engine, Includes: Ref. 2, 3 and 4

1шт.

2

E41370

NOISE PROTECTION

SPARE PART FOAM

1шт.

3

E41372

INSERT

FOAM, L.H.

1шт.

4

E41371

FOAM

R.H.

1шт.

5

13-516

BOLT,Hex, 5/16" - 18 x 1", Gr 5

4шт.

6

195-21

WASHER,5/16"

8шт.

7

131-651

NUT,5/16"-18, GB

NUT

4шт.

8

D61266

BUSHING

4шт.

9

D65714

GUARD

1шт.

10

D67063

BAND

rubber

1шт.

11

D68819

ELBOW UNION

Union Elbow BRACKET, L.H.

1шт.

12

D68818

ELBOW UNION

Union Elbow BRACKET, R. H.

1шт.

13

D72059

BRACKET

2шт.

14

E36711

PANEL

BARRIER

1шт.

15

D95585

BAND

rubber

4шт.

16

195-21

WASHER,5/16"

If used

8шт.

17

131-651

NUT,5/16"-18, GB

NUT

8шт.

18

13-828

BOLT,Hex, 1/2" - 13 x 1-3/4", Gr 5

2шт.

19

195-33

WASHER,1/2"

2шт.

20

92-8

LOCK WASHER,1/2"

2шт.

21

25-108

NUT,1/2"-13, G5

2шт.

22

13-832

BOLT,Hex, 1/2" - 13 x 2", Gr 5

2шт.

23

92-8

LOCK WASHER,1/2"

2шт.

24

195-33

WASHER,1/2"

2шт.

25

E36236

GUARD

1шт.

25

E40702

GUARD

1шт.

For 4 wheel drive

1шт.

26

13-1224

BOLT,Hex, 3/4" - 10 x 1-1/2", Gr 5

2шт.

27

195-45

WASHER,3/4"

2шт.

28

D77114

GUARD

GRILLE

1шт.

29

13-616

BOLT,Hex, 3/8" - 16 x 1", Gr 5, Full Thd

4шт.

30

92-6

LOCK WASHER,3/8"

4шт.

31

195-25

WASHER,3/8"

4шт.

32

E41344

GUARD

SPARE PART

1шт.

33

D65697

BAND

rubber

1шт.

35

E41377

WASHER

SEAL ASSY., Includes: Ref. 36

1шт.

36

E41376

SEAL

1шт.

37

E32927

PLATE, number, for Germany only

1шт.

38

E33608

CAP

fuel tank

1шт.

39

NSS

NOT SOLD SEPARAT

KEY

2шт.

Выбрано товаров: 40