Запчасти Case 580F (336) - PANEL, REAR, AXIAL AND SIDE SHIFT (90) - PLATFORM, CAB, BODYWORK AND DECALS

Схема запчастей Case 580F - (336) - PANEL, REAR, AXIAL AND SIDE SHIFT (90) - PLATFORM, CAB, BODYWORK AND DECALS
4
2
1
11
4
10
12
5
13
9
14
2
5
8
3
6
6
7
7
FIT
1:1
100%

Артикул

Название

Примечание

Количество

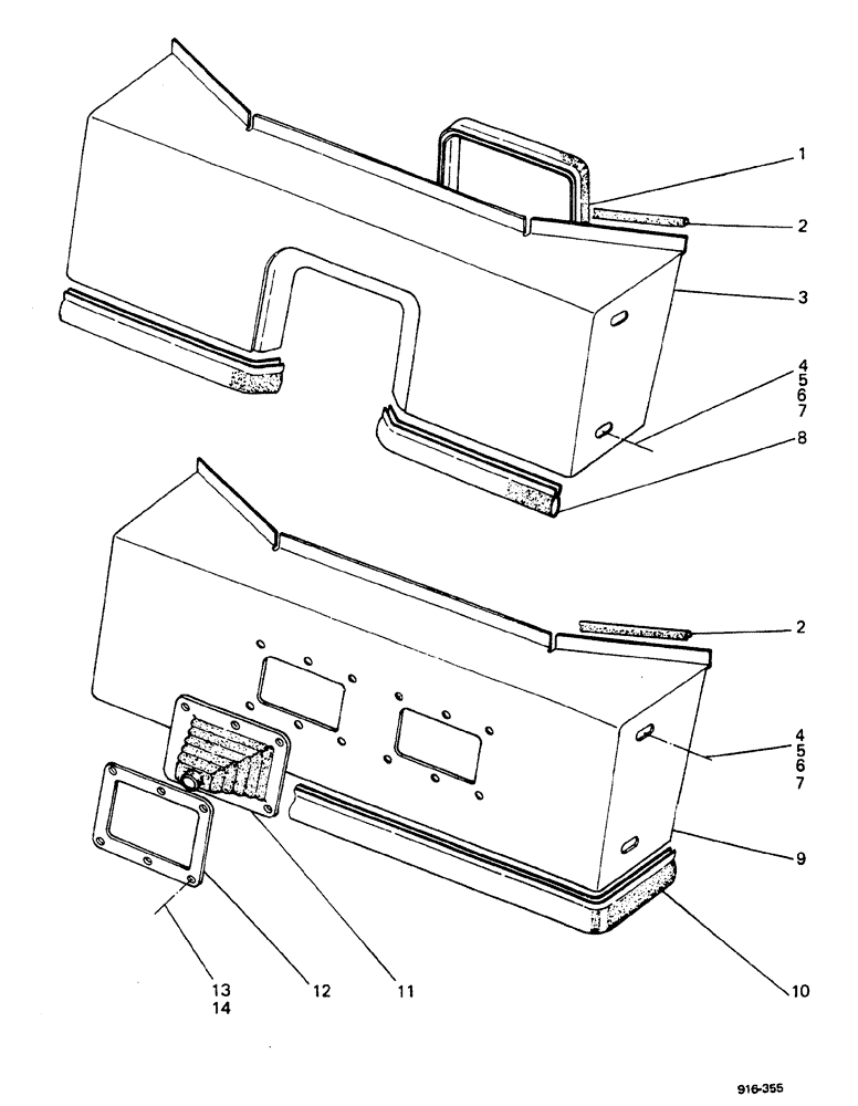
1

E38224

GUARD

1шт.

For S.S. backhoe

1шт.

2

E40871

GUARD

1шт.

without cab

1шт.

3

E38217

PANEL

rear

1шт.

For S.S. backhoe

1шт.

4

113-207

BOLT,Hex, 3/8" - 16 x 1", Gr 5

4шт.

5

195-525

WASHER,3/8", SAE

8шт.

6

192-21

LOCK WASHER,3/8"

4шт.

7

129-103

NUT,Hex, 3/8" - 16, Gr 5

4шт.

8

E38225

LINING

GUARD

2шт.

For S.S. backhoe

1шт.

9

E40086

PANEL ASSY.

rear

1шт.

For axial backhoe

1шт.

10

E40100

GASKET

SPARE PART

1шт.

For axial backhoe

1шт.

11

E37992

BOOT

2шт.

For axial backhoe

1шт.

12

E40088

PLATE, rear

2шт.

For axial backhoe

1шт.

13

113-2

BOLT,Hex, 1/4" - 20 x 5/8", Gr 5

12шт.

For axial backhoe

1шт.

14

192-19

LOCK WASHER,Helical Spring, 0.256" ID, CST, ZND

12шт.

For axial backhoe

1шт.

Выбрано товаров: 24