Запчасти Case 580F (348) - CAB, REAR WINDOW (90) - PLATFORM, CAB, BODYWORK AND DECALS

Схема запчастей Case 580F - (348) - CAB, REAR WINDOW (90) - PLATFORM, CAB, BODYWORK AND DECALS
6
6
14
5
8
4
23
17
5
37
15
33
11
22
12
8
40
13
39
7
27
18
19
42
32
41
28
34
21
4
26
25
2
3
35
36
30
5
9
29
16
31
3
30
10
43
24
38
29
1
31
5
7
28
9
20
FIT
1:1
100%

Артикул

Название

Примечание

Количество

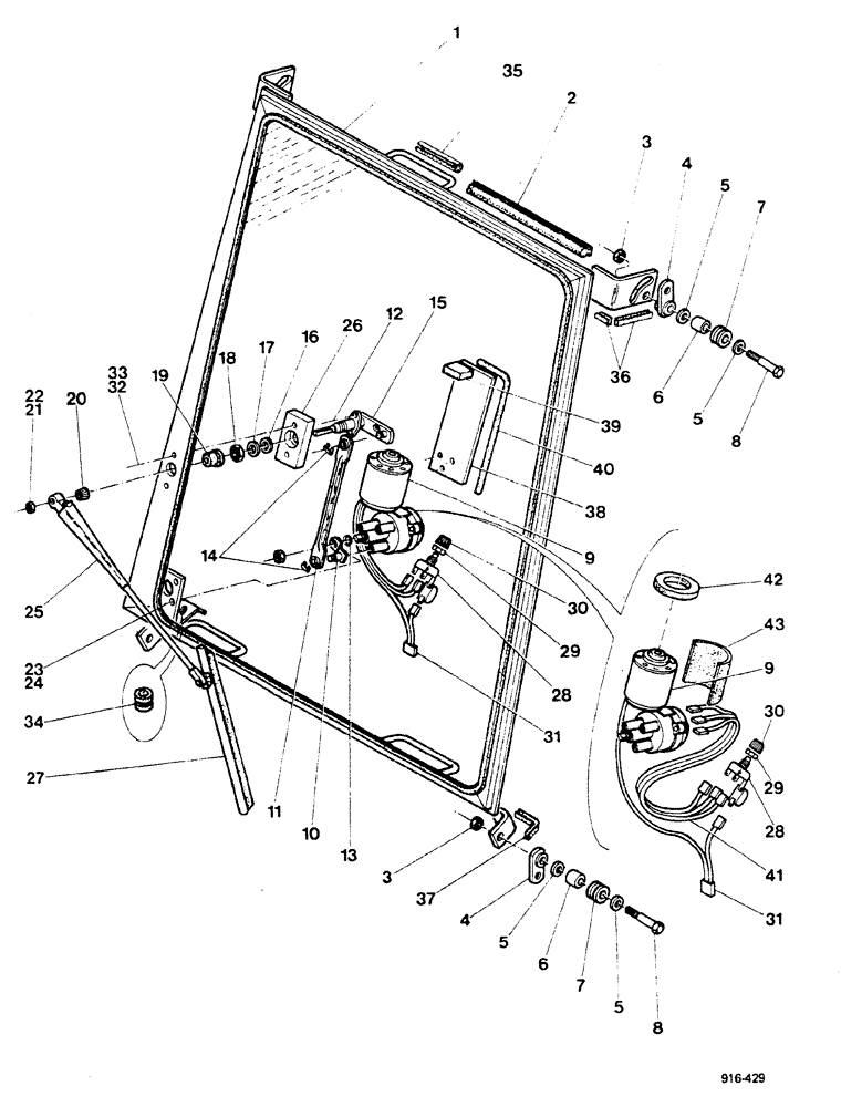
1

F96689

FRAME

1шт.

2

NLS

NO LONGER SERVICED

SEAL

1шт.

3

131-176

LOCK NUT,Prev Torque, Hex, 5/16" - 18, Gr A

4шт.

4

F96696

ARM

4шт.

5

195-525

WASHER,3/8", SAE

8шт.

6

F44588

SPACER

4шт.

7

E41698

ROLLER

4шт.

8

F43656

SCREW

PIN

4шт.

9

REF

INSTRUCTION

MOTOR, see Figure 362

1шт.

10

A36091

ARM

1шт.

11

D71412

LINK

1шт.

12

NSS

NOT SOLD SEPARAT

SCREW, Includes: SCREW and WASHER

2шт.

182-528

SCREW,Sl Pan Hd, #10 - 32 x 1/2"

1шт.

192-18

LOCK WASHER,Helical Spring, #10, 0.196" ID, CST, ZND

1шт.

13

A22431

WASHER

2шт.

14

D71414

CLIP

2шт.

D71415

SHAFT

ASSY., Includes: Ref. 15-22

1шт.

15

NSS

NOT SOLD SEPARAT

SHAFT

1шт.

16

D71417

SPECIAL WASHER

1шт.

17

D71418

WASHER

1шт.

18

D71419

NUT

1шт.

19

D71420

CAP

1шт.

20

D71421

TOOL

DRIVER

1шт.

21

193-9

LOCK WASHER,Ext Tooth, 5/16"

1шт.

22

D71422

NUT

1шт.

23

114-3

BOLT,Hex, 1/4" - 28 x 5/8", Gr 5

3шт.

24

192-19

LOCK WASHER,Helical Spring, 0.256" ID, CST, ZND

3шт.

25

F43789

ARM

1шт.

26

F44580

BLOCK

BRACKET

1шт.

27

F43938

WIPER BLADE

BLADE, WIPER

1шт.

28

A42660

SWITCH

1шт.

29

A42561

JAM NUT,Hex, 7/16" - 28, RH Thd

1шт.

30

A42578

KNOB

1шт.

31

F43838

CABLE

wire

1шт.

32

192-20

LOCK WASHER,Helical Spring, 0.318" ID, CST, ZND

2шт.

33

113-101

BOLT,Hex, 5/16" - 18 x 1-1/2", Gr 5

2шт.

34

E11200

GROMMET

1шт.

35

E34881

GUARD

for Germany and Denmark only

3шт.

36

D55218

SEAL, GLASS,76mm L

rubber, for Germany only

4шт.

37

D36179

LINING

rubber, for Germany only

2шт.

38

E37998

LINING

SPARE PART GUARD complete, Includes: Ref. 39, for Germany only

1шт.

39

E37994

FOAM, for Germany only

1шт.

40

D35424

LINING

GUARD, for Germany only

1шт.

41

E41946

HARNESS

if used

1шт.

42

E42694

FOAM

1шт.

43

E42695

FOAM

1шт.

Выбрано товаров: 46