Запчасти Case 580F (352) - CAB, GLASSES AND MOLDINGS (90) - PLATFORM, CAB, BODYWORK AND DECALS

Схема запчастей Case 580F - (352) - CAB, GLASSES AND MOLDINGS (90) - PLATFORM, CAB, BODYWORK AND DECALS
10
2
6
5
9
8
12
14
11
13
1
4
3
7
FIT
1:1
100%

Артикул

Название

Примечание

Количество

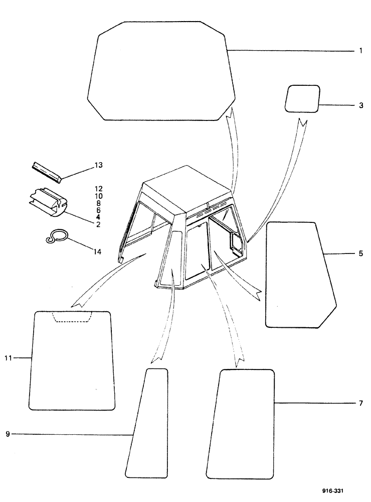
1

F43643

GLASS

1шт.

2

F43727

GASKET

1шт.

3

F43638

GLASS

2шт.

4

F43724

GASKET

2шт.

5

E38849

GLASS

2шт.

6

E40059

SEAL

2шт.

7

E38850

GLASS

2шт.

8

E40058

SEAL

2шт.

9

E40295

GLASS

2шт.

10

E40450

SEAL

2шт.

11

F43729

GLASS

1шт.

12

F43688

STRIP

1шт.

11

E40484

COVER

GLASS, for Sweden only

1шт.

12

E41727

GASKET

1шт.

13

E41726

SEAL, GLASS

PLASTIC insert

1шт.

14

E41781

SEAL

1шт.

Выбрано товаров: 16