Запчасти Case 580F (384) - SIDE SHIFT BACKHOE, REAR NUMBER PLATES (90) - PLATFORM, CAB, BODYWORK AND DECALS

Схема запчастей Case 580F - (384) - SIDE SHIFT BACKHOE, REAR NUMBER PLATES (90) - PLATFORM, CAB, BODYWORK AND DECALS
17
11
3
7
19
2
12
15
1
4
16
8
9
6
14
5
13
10
18
20
FIT
1:1
100%

Артикул

Название

Примечание

Количество

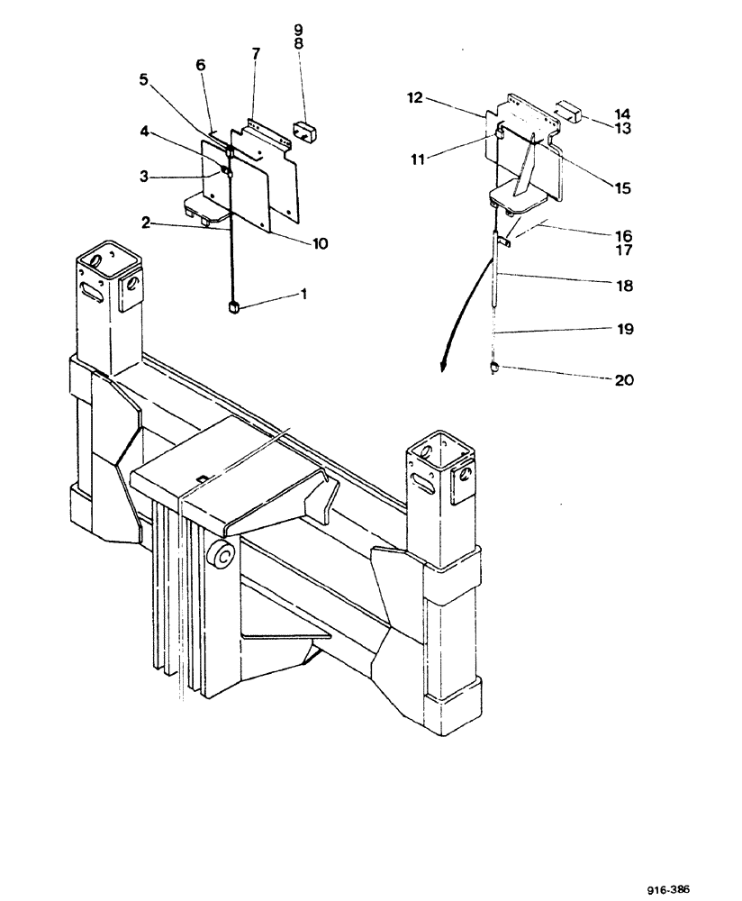
1

E35328

FITTING

1шт.

2

E34999

ELECTRICAL WIRE

WIRE

1шт.

3

175-403

SCREW,Sl Truss Hd, 1/4" - 20 x 3/4"

SPARE PART

3шт.

3

193-44

LOCK WASHER,Ext-Int Tooth, 1/4"

3шт.

3

7770

NUT,Hex, 1/4 - 20, Cl 5

3шт.

4

515-2348

CLAMP,4.8mm ID, 10.3mm Bolt Hole, P Type

1шт.

5

E35328

FITTING

1шт.

6

E35050

ELECTRICAL WIRE

SPARE PART

1шт.

7

E42112

PLATE

number

1шт.

8

E38934

LIGHT

2шт.

9

E32057

BULB

2шт.

10

E42100

COVER

1шт.

11

E35328

FITTING

for Germany only

1шт.

12

E38881

PLATE

number, for Germany only

1шт.

13

E38934

LIGHT

for Germany only

2шт.

14

E32057

BULB

for Germany only

2шт.

15

E35050

ELECTRICAL WIRE

SPARE PART for Germany only

2шт.

16

13-614

BOLT,Hex, 3/8" - 16 x 7/8", Gr 5, Full Thd

For Germany only

1шт.

17

92-6

LOCK WASHER,3/8"

for Germany only

1шт.

18

E40035

GUARD

for Germany only

1шт.

19

E38925

ELECTRICAL WIRE

SPARE PART for Germany only

1шт.

20

E35328

FITTING

for Germany only

1шт.

Выбрано товаров: 22