Запчасти Case 580F (388) - SOUND PROOFING (90) - PLATFORM, CAB, BODYWORK AND DECALS

Схема запчастей Case 580F - (388) - SOUND PROOFING (90) - PLATFORM, CAB, BODYWORK AND DECALS
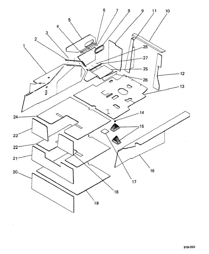
26
8
19
11
18
5
27
25
7
15
13
16
20
3
23
1
14
21
4
17
28
9
22
10
12
6
24
2
FIT
1:1
100%

Артикул

Название

Примечание

Количество

1

E38490

LINING

foam, fender, L.H.

1шт.

1

E41606

INSULATOR

foam, fender, L.H., for Germany only

1шт.

2

E40032

STRAP

1шт.

3

182-540

SCREW,Sl Pan Hd, 1/4" - 20 x 3/8"

5шт.

4

187-1031

SELF-TAP SCREW,Pan, 0.164"-32 x 1/4"

3шт.

5

E41047

LINING

SPARE PART foam

1шт.

6

E38968

STRIP

1шт.

7

E30969

SUPPORT

foam

1шт.

8

E41078

GUARD

1шт.

9

E38860

LINING

SPARE PART foam

1шт.

10

E38611

COVER

upper front

1шт.

11

E38861

COVER

front, L.H.

1шт.

12

E38612

LINING

COVER, front, R.H.

1шт.

13

E41930

MAT

SPARE PART front

1шт.

14

E37561

GROMMET

SPARE PART

1шт.

15

E37992

BOOT

2шт.

16

E38313

LINING

foam, fender, R.H.

1шт.

16

E41620

INSULATOR

foam, fender, R.H., for Germany only

1шт.

17

E38489

PLATE

ENCLOSURE

1шт.

18

E38315

LINING

SPARE PART foam, rear, R.H.

1шт.

For side shift backhoe

1шт.

19

E41932

MAT

rear

1шт.

For loader only

1шт.

20

E40800

FOAM

1шт.

For loader only

1шт.

21

E40242

LINING

foam

1шт.

For axial backhoe

1шт.

22

E41933

FLOOR MAT

SPARE PART rear

1шт.

For axial backhoe

1шт.

23

E38314

LINING

SPARE PART foam

1шт.

For side shift backhoe

1шт.

24

E41931

MAT

SPARE PART rear

1шт.

For side shift backhoe

1шт.

25

E40178

MAT

SPARE PART

1шт.

26

E40179

MAT

SPARE PART

1шт.

27

E40177

BRACKET

angle

1шт.

28

187-1088

SELF-TAP SCREW,Hex Wash Hd, #10 x 1/2"

2шт.

Выбрано товаров: 37