Запчасти Case 580F (046) - AIR CLEANER AND MUFFLER (10) - ENGINE

Схема запчастей Case 580F - (046) - AIR CLEANER AND MUFFLER (10) - ENGINE
4
8
23
27
12
1
15
22
11
26
10
17
18
14
16
6
28
13
7
3
21
9
2
25
24
19
20
5
FIT
1:1
100%

Артикул

Название

Примечание

Количество

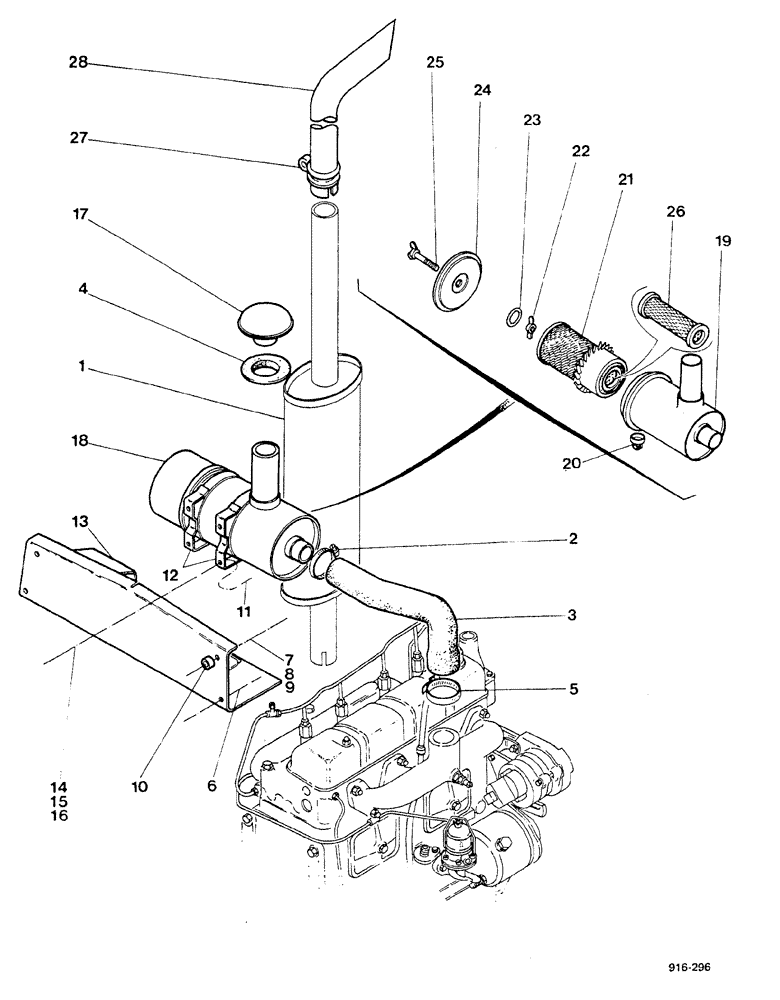
1

E42599

MUFFLER

for Sweden and Denmark only

1шт.

1

K202702

X

MUFFLER

1шт.

2

214-261

HOSE CLAMP,#40, 2.06" - 3", Type F Worm

1шт.

3

D69356

LARGE HOSE

HOSE,LARGE

1шт.

4

R14780

GROMMET

SEAL

1шт.

5

214-261

HOSE CLAMP,#40, 2.06" - 3", Type F Worm

1шт.

6

131-651

NUT,5/16"-18, GB

NUT

2шт.

7

13-624

BOLT,Hex, 3/8" - 16 x 1-1/2", Gr 5

2шт.

8

92-6

LOCK WASHER,3/8"

2шт.

9

195-25

WASHER,3/8"

2шт.

10

D71879

SPACER

SPARE PART

4шт.

11

13-612

BOLT,Hex, 3/8" - 16 x 3/4", Gr 5, Full Thd

4шт.

12

L11247

BAND

CLAMP, Donalson

2шт.

E41303

CLAMP, Sofiltra

2шт.

13

E41499

PLATE

1шт.

14

195-25

WASHER,3/8"

4шт.

15

92-6

LOCK WASHER,3/8"

4шт.

16

25-106

NUT,3/8"-16, G5

4шт.

17

A61276

AIR CLEANER

CAP, Donalson

1шт.

E35756

CAP

Sofiltra

1шт.

18

E41924

FILTER ASSY

AIR CLEANER, Includes: Ref. 19-26

1шт.

19

NSS

NOT SOLD SEPARAT

BODY

1шт.

20

E41740

CAP

VALVE, scavenging

1шт.

21

E41687

FILTER, ELEMENT

ELEMENT, FILTER

1шт.

E42196

NUT

Includes: Ref. 22 and 23

1шт.

22

NSS

NOT SOLD SEPARAT

NUT

1шт.

23

E37271

WASHER

1шт.

24

E41737

COVER

1шт.

25

E41739

BOLT

cap

1шт.

26

E41535

AIR CLEANER

ELEMENT safety

1шт.

27

E40788

CLAMP

for Sweden and Demnark only

1шт.

28

E40756

PIPE

for Sweden and Denmark only

1шт.

Выбрано товаров: 32