Запчасти Case 580F (102) - DROP BOX (23) - FOUR WHEEL DRIVE SYSTEM

Схема запчастей Case 580F - (102) - DROP BOX (23) - FOUR WHEEL DRIVE SYSTEM
18
34
30
20
21
25
53
48
55
36
40
16
33
31
27
10
20
42
24
37
52
5
41
35
28
19
54
35
9
3
51
8
2
13
22
4
12
15
21
17
11
29
7
23
32
49
6
26
1
56
50
14
39
38
FIT
1:1
100%

Артикул

Название

Примечание

Количество

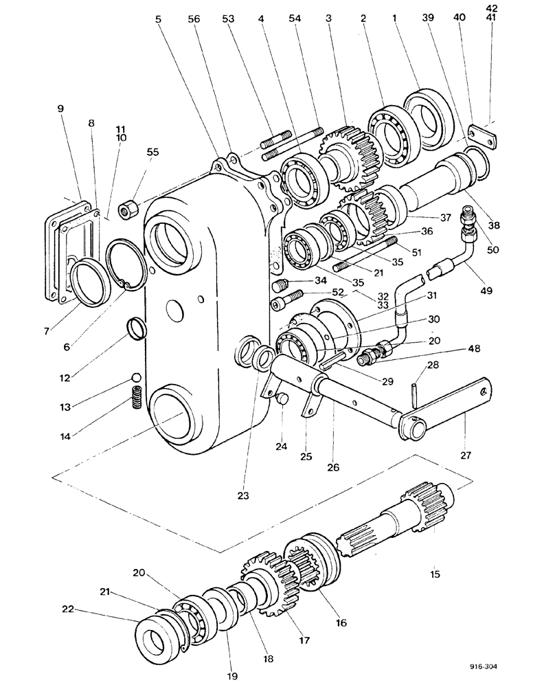
1

K956806

COLLAR

BEARING thrust

1шт.

K956814

DROP BOX ASSY., Includes: Ref. 2-42

1шт.

2

A20291

BALL BEARING,2.3616" ID x 4.3307" OD

1шт.

3

K956972

GEAR

driving

1шт.

4

K956803

BEARING

1шт.

5

K956821

HOUSING

1шт.

6

K956992

RING

snap

1шт.

7

K956994

PLUG

1шт.

8

K956878

GASKET

1шт.

9

K956867

COVER

1шт.

10

K956927

BOLT,Hex, M8 x 22, 8.8, Full Thd

4шт.

11

892-1108

LOCK WASHER,M8

4шт.

12

K956809

PLUG

1шт.

13

211-7

BALL,1/4" Dia

3шт.

14

K965394

SPRING

3шт.

15

K956823

SHAFT

SPARE PART driving

1шт.

16

K965395

CLUTCH

sliding dog

1шт.

17

K956824

GEAR

ASSY., Includes: Ref. 18

1шт.

18

K956825

BUSHING

2шт.

19

K956826

BUSHING

1шт.

20

K965406

ROLLER BEARING

2шт.

21

K965403

RING, SNAP

RING SNAP

2шт.

22

K956993

OIL SEAL

oil

1шт.

23

K965377

OIL SEAL

oil

1шт.

24

K956828

SMALL PIN

ROLLER

2шт.

25

K956827

SELECTOR

1шт.

26

K956963

SHAFT

1шт.

27

K956960

LEVER

1шт.

28

K956978

SPLIT PIN/SAFETY PIN

groove

1шт.

29

K956977

PIN

groove

1шт.

30

K965398

GASKET

1шт.

31

K965396

COVER

1шт.

32

814-8025

BOLT,Hex, M8 x 1.25 x 25mm, Cl 8.8, Full Thd

4шт.

33

892-1108

LOCK WASHER,M8

4шт.

34

K965263

PLUG

1шт.

35

K965406

ROLLER BEARING

2шт.

36

K956807

GEAR

1шт.

37

K956815

SPACER

DISTANCE PIECE

1шт.

38

K956810

SHAFT

1шт.

39

D26820

O-RING,0.103" Thk x 1.549" ID, -129, Cl 5, 75 Duro

1шт.

40

K956812

PLATE

lock

1шт.

41

814-8016

BOLT,Hex, M8 x 1.25 x 16mm, Cl 8.8, Full Thd

2шт.

42

892-1108

LOCK WASHER,M8

2шт.

48

K956833

CONNECTOR, ELEC

CONNECTOR

1шт.

49

K956840

HOSE

1шт.

50

K956839

CONNECTOR, ELEC

SPARE PART

1шт.

51

K956846

STUD

1шт.

52

61-728

HEX SOC SCREW,7/16"-14 x 1 3/4"

1шт.

53

K956845

STUD

4шт.

54

K956844

STUD

1шт.

55

K956837

NUT

6шт.

56

K956975

GASKET

1шт.

Выбрано товаров: 52