Запчасти Case 580F (258) - SIDE SHIFT BACKHOE SWING CYLINDER (35) - HYDRAULIC SYSTEMS

Схема запчастей Case 580F - (258) - SIDE SHIFT BACKHOE SWING CYLINDER (35) - HYDRAULIC SYSTEMS
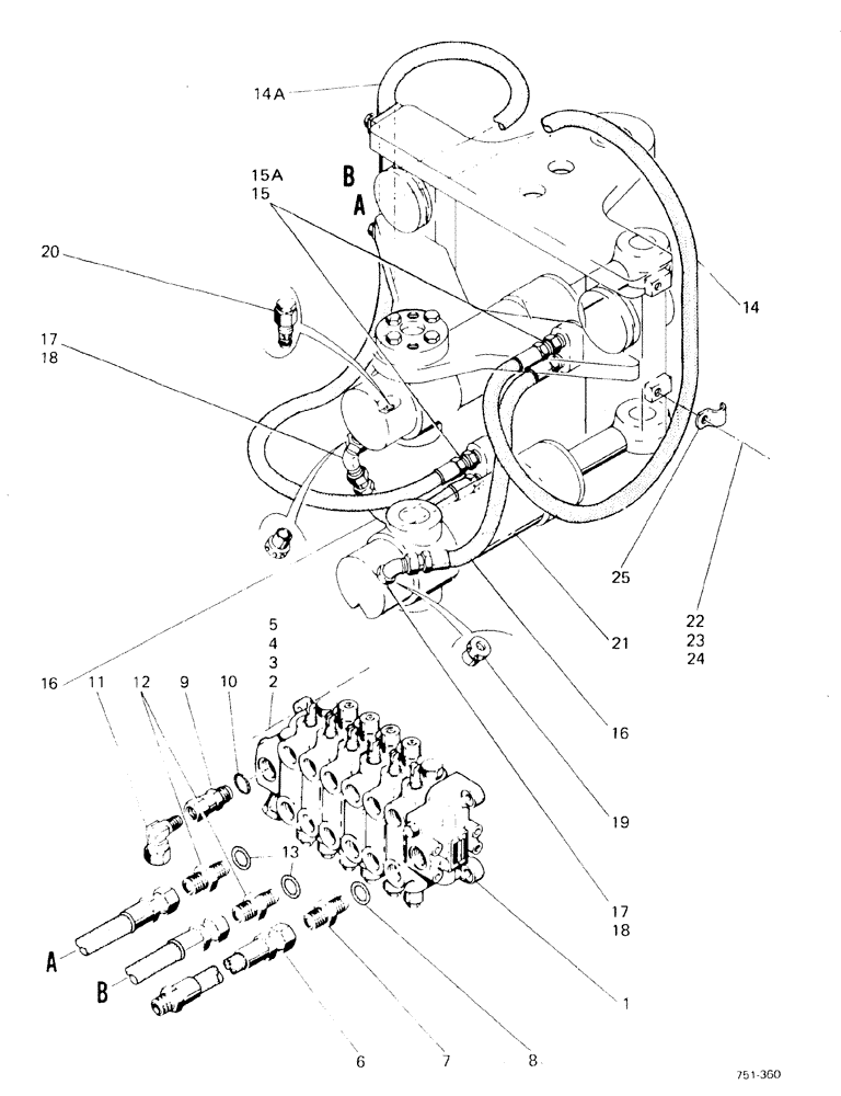
17
9
11
7
20
24
18
19
17
14a
3
2
23
4
16
22
14
6
15a
8
1
25
18
12
10
21
16
15
5
FIT
1:1
100%

Артикул

Название

Примечание

Количество

1

REF

INSTRUCTION

VALVE, see Figure 214 - 215A

1шт.

2

13-832

BOLT,Hex, 1/2" - 13 x 2", Gr 5

3шт.

3

95-8

WASHER,1/2"

3шт.

4

92-8

LOCK WASHER,1/2"

3шт.

5

25-108

NUT,1/2"-13, G5

3шт.

6

D66505

HOSE

1шт.

7

218-5069

HYD CONNECTOR,1-5/16" - 12 Male JIC x 1-5/16" - 12 Male ORB

1шт.

8

218-5010

O-RING,0.116" Thk x 1.171" ID, -916, Cl 6, 90 Duro

Seal

1шт.

9

D68334

ADAPTER

1шт.

10

218-5010

O-RING,0.116" Thk x 1.171" ID, -916, Cl 6, 90 Duro

Seal

1шт.

11

218-5234

ELBOW,90 Degree, 1 5/16"-12, 37 Degree x 1 5/16"-12, 37 Degree Fem Sw

ELBOW

1шт.

12

218-5071

HYD CONNECTOR,3/4" - 16 Male JIC x 1-5/16" - 12 Male ORB

2шт.

13

218-5010

O-RING,0.116" Thk x 1.171" ID, -916, Cl 6, 90 Duro

Seal

1шт.

14

D72864

HOSE

1шт.

14a

D72865

HOSE

1шт.

15

218-5059

HYD CONNECTOR,3/4"-16, 37 Degree x 3/4"-16, O-Ring

2шт.

15a

218-5007

O-RING,0.097" Thk x 0.755" ID, -910, Cl 6, 90 Duro

SEAL

1шт.

16

D67996

HOSE

2шт.

17

218-5146

ELBOW,45 Degree Elbow, 3/4" - 16 Male JIC x 7/8" - 14 Male ORB

ELBOW

2шт.

18

218-5007

O-RING,0.097" Thk x 0.755" ID, -910, Cl 6, 90 Duro

SEAL

1шт.

19

D45555

FITTING

RESTRICTOR

2шт.

20

REF

INSTRUCTION

VALVE, see Figure 259A

2шт.

21

REF

INSTRUCTION

CYLINDER swing, see Figure 198

2шт.

22

13-610

BOLT,Hex, 3/8" - 16 x 5/8", Gr 5, Full Thd

4шт.

23

92-6

LOCK WASHER,3/8"

4шт.

24

195-25

WASHER,3/8"

4шт.

25

E37847

SHIN

SPARE PART CLAMP

4шт.

Выбрано товаров: 27