Запчасти Case 580F (260) - SIDE SHIFT BACKHOE LOCKING CYLINDERS (35) - HYDRAULIC SYSTEMS

Схема запчастей Case 580F - (260) - SIDE SHIFT BACKHOE LOCKING CYLINDERS (35) - HYDRAULIC SYSTEMS
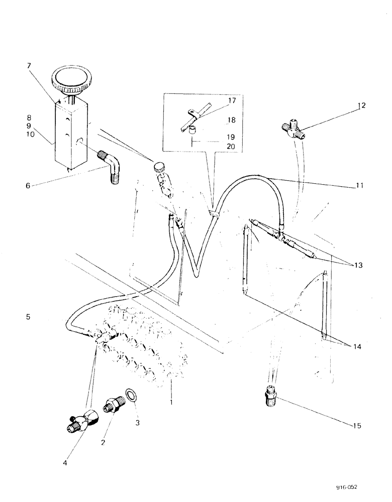
20
17
11
8
14
12
13
6
7
2
18
3
9
4
1
19
5
10
15
FIT
1:1
100%

Артикул

Название

Примечание

Количество

1

REF

INSTRUCTION

VALVE, see Figure 214

1шт.

2

218-5077

HYD CONNECTOR,1-1/16" - 12 Male JIC x 1-5/16" - 12 Male ORB

1шт.

3

218-5010

O-RING,0.116" Thk x 1.171" ID, -916, Cl 6, 90 Duro

Seal

1шт.

4

218-5475

TEE,37 Degree, 7/8"-14 x 3/4"-16, Fem Sw Run x 1/2"-20 Br

CONNECTOR

1шт.

5

D67999

HOSE

1шт.

6

218-491

ELBOW,90 Degree Elbow, 7/16" - 20 Male JIC x 1/4" - 18 Male NPTF

ELBOW

1шт.

7

REF

INSTRUCTION

VALVE, see Figure 262-263A

1шт.

8

13-428

BOLT,Hex, 1/4" - 20 x 1-3/4", Gr 5

2шт.

9

92-4

LOCK WASHER,1/4"

2шт.

10

25-104

NUT,1/4"-20, G5

2шт.

11

D67998

HOSE

1шт.

12

218-591

TEE,7/16"-20, 37 Degree

CONNECTOR

1шт.

13

D68001

HOSE

2шт.

14

D68000

HOSE

2шт.

15

218-441

HYD CONNECTOR,7/16" - 20 Male JIC x 1/8" - 27 Male NPTF

CONNECTOR

2шт.

17

D34174

CLAMP,5/8", 1/2" Bolt

1шт.

18

E35340

BUSHING

SPACER

1шт.

19

13-836

BOLT,Hex, 1/2" - 13 x 2-1/4", Gr 5

1шт.

20

92-8

LOCK WASHER,1/2"

1шт.

Выбрано товаров: 19