Запчасти Case 580F (320) - CAB, HEATER AND DEFROSTER, STARTING WITH NO 3.736.448 (50) - CAB CLIMATE CONTROL

Схема запчастей Case 580F - (320) - CAB, HEATER AND DEFROSTER, STARTING WITH NO 3.736.448 (50) - CAB CLIMATE CONTROL
22
6
4
27
11
12
32
13
15
10
20
21
21
23
1
30
2
6
8
21
9
24
17
3
5
33
18
19
16
29
28
2
31
4
25
14
26
FIT
1:1
100%

Артикул

Название

Примечание

Количество

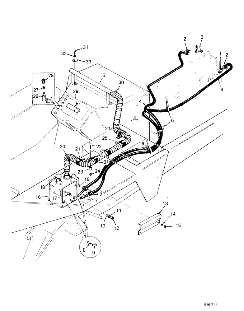
1

D76514

FITTING

ELBOW

1шт.

2

214-253

HOSE CLAMP,#10, 0.56" - 1.06", Type F Worm

4шт.

3

A16764

VALVE

1шт.

4

D76742

TUBE

SPARE PART HOSE

2шт.

5

D71083

DIFFUSER

SPARE PART

1шт.

6

L18331

CABLE TIE,375.9mm L, Nylon, Black

CABLE STRAP

4шт.

7

D65132

FITTING

NIPPLE

2шт.

8

221-160

FITTING

CONNECTOR

2шт.

9

221-376

ELBOW,90 Degree, 3/8" NPT

ELBOW

2шт.

10

195-511

WASHER,#10

3шт.

11

195-103

WASHER,5/16"

3шт.

12

129-122

NUT,5/16"-24, G5

3шт.

13

E35284

GUARD ASSY.

1шт.

13

E35283

FOAM

1шт.

14

195-21

WASHER,5/16"

2шт.

15

129-103

NUT,Hex, 3/8" - 16, Gr 5

2шт.

16

REF

INSTRUCTION

HEATER complete, see Figure 322

1шт.

17

D73049

BUSHING

SPACER

3шт.

18

L50606

COVER

1шт.

19

E17853

TERMINAL

1шт.

20

D71086

LOOM

SPARE PART HOSE

1шт.

21

E35505

CLAMP

SPARE PART

4шт.

22

113-208

BOLT,Hex, 3/8" - 16 x 1-1/4", Gr 5

CAP

3шт.

23

D73049

BUSHING

SPACER

3шт.

24

131-643

NUT

3шт.

25

E35505

CLAMP

SPARE PART

1шт.

25

113-208

BOLT,Hex, 3/8" - 16 x 1-1/4", Gr 5

CAP

1шт.

25

D73049

BUSHING

SPACER

1шт.

25

192-21

LOCK WASHER,3/8"

1шт.

25

129-103

NUT,Hex, 3/8" - 16, Gr 5

1шт.

26

F21304

BLOWER SWITCH

1шт.

27

A42561

JAM NUT,Hex, 7/16" - 28, RH Thd

1шт.

28

D71503

KNOB

1шт.

29

E40332

FUSE

8 amp

1шт.

30

214-259

HOSE CLAMP,#32, 1.56" - 2.5", Type F Worm

2шт.

31

113-102

BOLT,Hex, 5/16" - 18 x 3/4", Gr 5

2шт.

32

195-521

WASHER,5/16", SAE

2шт.

33

131-637

SPRING NUT,Ret, J, 5/16"-18

2шт.

Выбрано товаров: 38