Запчасти Case 580F (254) - EXTENDAHOE CONTROLS (84) - BOOMS, DIPPERS & BUCKETS

Схема запчастей Case 580F - (254) - EXTENDAHOE CONTROLS (84) - BOOMS, DIPPERS & BUCKETS
2a
2b
8
1
10
4
2
5
3
7
6
9
FIT
1:1
100%

Артикул

Название

Примечание

Количество

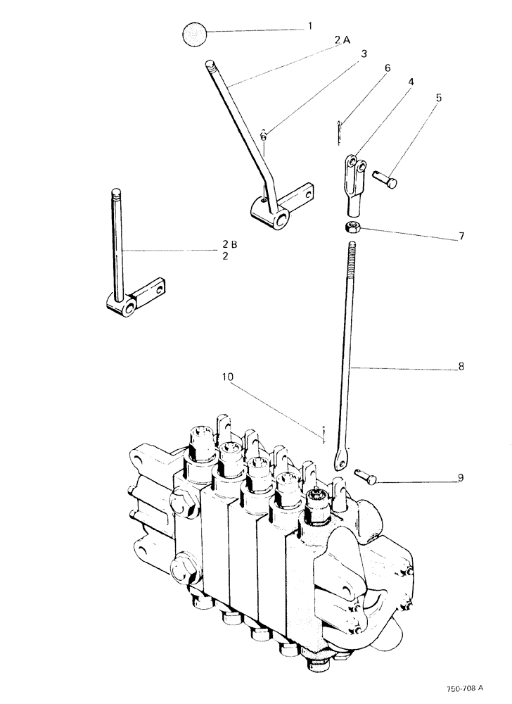
1

D59912

KNOB

1шт.

2

D67768

HANDLE

for 5 lever controls

1шт.

2a

D69934

HANDLE

SPARE PART for 2 lever controls

1шт.

UP TO NO. 3.775.081

1шт.

2b

D75381

HANDLE

for 2 lever controls

1шт.

STARTING WITH NO. 3.775.082

1шт.

3

219-4

LUBE NIPPLE,1/8" - 27 NPTF

1шт.

4

213-4

ADJUSTABLE CLEVIS,3/8"-24 x 2 1/2"

YOKE

1шт.

5

141-4

CLEVIS PIN,3/8" x 1.060"

1шт.

6

132-26

COTTER PIN

3/32" x 3/4"

1шт.

7

25-116

NUT,Hex, 3/8"-24, G5

1шт.

8

D67783

ROD

1шт.

9

141-3

CLEVIS PIN,5/16" x .940"

1шт.

10

132-24

COTTER PIN,3/32" x 1/2"

1шт.

Выбрано товаров: 0