Запчасти Case 580F (268) - BACKHOE MOUNTING PARTS (84) - BOOMS, DIPPERS & BUCKETS

Схема запчастей Case 580F - (268) - BACKHOE MOUNTING PARTS (84) - BOOMS, DIPPERS & BUCKETS
7
6
3
6
1
5
2
4
5
FIT
1:1
100%

Артикул

Название

Примечание

Количество

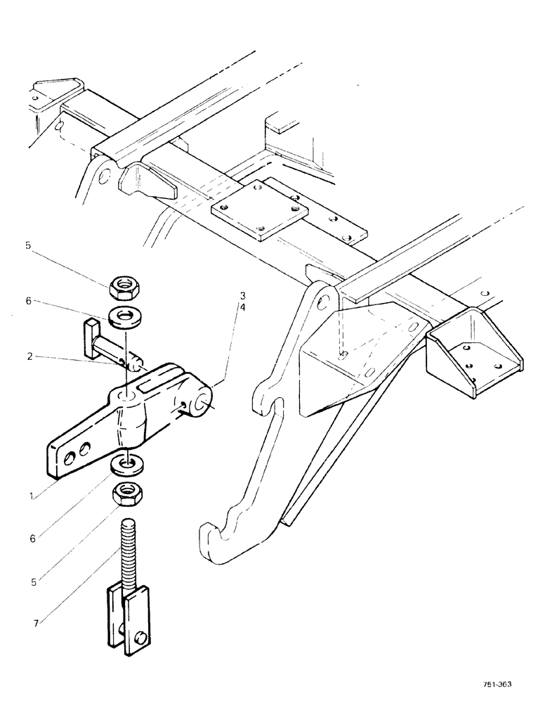
1

D71908

LINK

2шт.

2

D71870

PIN

2шт.

3

13-856

BOLT,Hex, 1/2" - 13 x 3-1/2", Gr 5

2шт.

4

131-654

LOCK NUT,1/2"-13, GB

2шт.

5

25-1020

NUT,1 1/4"-7, G5

4шт.

UP TO NO. 3.702.226, DRY CLUTCH/NO. 3.734.737, TORQUE CONVERTER

1шт.

5

E37849

NUT

2шт.

STARTING WITH NO. 3.702.227, DRY CLUTCH/NO. 3.734.738, TORQUE CONVERTER

1шт.

6

D74332

WASHER

4шт.

UP TO NO. 3.702.226, DRY CLUTCH/NO. 3.734.737, TORQUE CONVERTER

1шт.

6

D74332

WASHER

2шт.

STARTING WITH NO. 3.702.227, DRY CLUTCH/NO. 3.734.738, TORQUE CONVERTER

1шт.

7

D66616

SPARE PART

ROD, order E36776 + E37849

2шт.

UP TO NO. 3.702.226, DRY CLUTCH/NO. 3.734.737, TORQUE CONVERTER

1шт.

7

E36776

TRUSS ROD

2шт.

STARTING WITH NO. 3.702.227, DRY CLUTCH/NO. 3.734.738, TORQUE CONVERTER

1шт.

Выбрано товаров: 16