Запчасти Case 580F (278) - SIDE SHIFT BACKHOE CONTROL TOWER, 5 LEVERS (84) - BOOMS, DIPPERS & BUCKETS

Схема запчастей Case 580F - (278) - SIDE SHIFT BACKHOE CONTROL TOWER, 5 LEVERS (84) - BOOMS, DIPPERS & BUCKETS
14
3
15
9
2
18
17
10
7
12
4
11
13
16
6
8
5
1
FIT
1:1
100%

Артикул

Название

Примечание

Количество

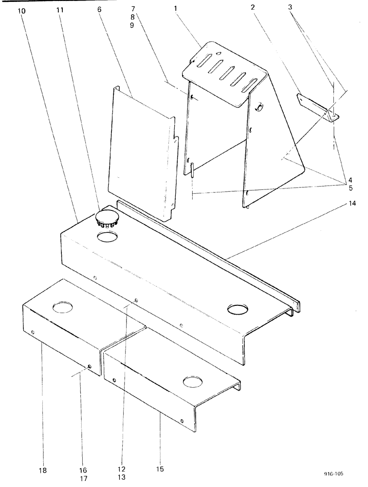
1

E37038

LATHE

TOWER

1шт.

2

D38292

COVER PLATE

PLATE

1шт.

3

13-616

BOLT,Hex, 3/8" - 16 x 1", Gr 5, Full Thd

CAP

4шт.

4

92-6

LOCK WASHER,3/8"

6шт.

5

25-106

NUT,3/8"-16, G5

6шт.

6

D67192

COVER

1шт.

7

13-512

BOLT,Hex, 5/16" - 18 x 3/4", Gr 5

4шт.

8

92-5

LOCK WASHER,5/16"

4шт.

9

95-5

WASHER,3/8" x 7/8" x .083"

4шт.

10

D69344

PLATE

1шт.

UP TO NO. 3.785.300

1шт.

10

D73997

PLATE, for backhoe equipped with chain fitted tires

1шт.

UP TO NO. 3.785.300

1шт.

11

205-72

HOLE PLUG BUTTON,3"

BUTTON

2шт.

12

13-612

BOLT,Hex, 3/8" - 16 x 3/4", Gr 5, Full Thd

Cap

3шт.

UP TO NO. 3.785.300

1шт.

13

92-6

LOCK WASHER,3/8"

3шт.

UP TO NO. 3.785.300

1шт.

14

D73976

BAND

TRIM

1шт.

15

D75760

PLATE

right-hand

1шт.

STARTING WITH NO. 3.785.301

1шт.

15

D76251

PLATE right-hand, for backhoe equipped with chain fitted tires

1шт.

STARTING WITH NO. 3.785.301

1шт.

16

13-612

BOLT,Hex, 3/8" - 16 x 3/4", Gr 5, Full Thd

Cap

4шт.

STARTING WITH NO. 3.785.301

1шт.

17

92-6

LOCK WASHER,3/8"

4шт.

STARTING WITH NO. 3.785.301

1шт.

18

D75759

PLATE

left-hand

1шт.

STARTING WITH NO. 3.785.301

1шт.

18

D76253

PLATE left-hand, for backhoe equipped with chain fitted tires

1шт.

STARTING WITH NO. 3.785.301

1шт.

Выбрано товаров: 0