Запчасти Case 580F (018) - ENGINE, CYLINDER BLOCK AND COVERS (10) - ENGINE

Схема запчастей Case 580F - (018) - ENGINE, CYLINDER BLOCK AND COVERS (10) - ENGINE
5
9
31
11
19
30
2
6
13
25
32
21
26
18
8
3
4
14
12
1
22
24
17
29
23
15
7
10
16
20
33
27
28
FIT
1:1
100%

Артикул

Название

Примечание

Количество

1

REF

INSTRUCTION

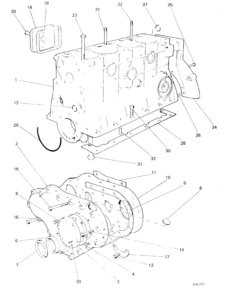
BLOCK cylinder, see Figure 016

1шт.

K923037

COVER

TIMING ASSEMBLY

1шт.

2

K950628

COVER

1шт.

3

K924397

COVER

PLATE

1шт.

4

K924398

FLEXIBLE JOINT

GASKET

1шт.

5

13-514

BOLT,Hex, 5/16" - 18 x 7/8", Gr 5

SET

5-6шт.

192-20

LOCK WASHER,Helical Spring, 0.318" ID, CST, ZND

6шт.

6

K623448

SEAL

oil, order K628127

1шт.

6

K628127

OIL SEAL,52.2mm ID x 73.45mm OD x 9.5mm Thk

oil

1шт.

7

K623454

FELT SEAL,54.77mm ID x 73.82mm OD x 3.17mm Thk

felt

1шт.

8

41-20

PLUG,Exp, 1 1/4"

core

1шт.

9

K920794

GASKET

1шт.

10

K920867

CARRIER

PLATE

1шт.

11

K902031

GASKET

1шт.

12

K24556

O-RING,0.734" ID x 1.012" OD x 0.139"

O

1шт.

13

26-512

BOLT,Hex, 5/16" - 18 x 3/4", Gr 8

SET

4шт.

14

13-516

BOLT,Hex, 5/16" - 18 x 1", Gr 5

SET

9шт.

15

13-532

BOLT,Hex, 5/16" - 18 x 2", Gr 5

1шт.

16

13-524

BOLT,Hex, 5/16" - 18 x 1-1/2", Gr 5

6шт.

9635082

NUT,5/16" - 18, Gr 5

3шт.

192-20

LOCK WASHER,Helical Spring, 0.318" ID, CST, ZND

21шт.

17

K902036

GASKET

PLATE baffle

1шт.

18

K10029

COVER

2шт.

19

K10030

GASKET

2шт.

20

13-632

BOLT,Hex, 3/8" - 16 x 2", Gr 5

2шт.

K19504

WASHER,9.92mm ID x 14.29mm OD x 2mm Thk

2шт.

21

K906538

STUD

10шт.

22

K608505

STUD,1/2" x 7/16"

STUD

2шт.

23

K600870

BOLT

7шт.

24

K903947

SUPPORT

SPARE PART PLATE

1шт.

25

K602906

SCREW

SET

6шт.

192-21

LOCK WASHER,3/8"

6шт.

26

K12258

PIN

DOWEL

2шт.

27

K623523

O-RING,1.802" OD x 0.143" Width

1шт.

28

K902044

GASKET

left-hand

1шт.

K902045

GASKET

right-hand

1шт.

29

K902046

SEAL

2шт.

30

13-618

BOLT,Hex, 3/8" - 16 x 1-1/8", Gr 5

SET

10шт.

30

13-628

BOLT,Hex, 3/8" - 16 x 1-3/4", Gr 5

SET, 3/8" x 1-3/4"

2шт.

31

13-692

BOLT,Hex, 3/8" - 16 x 5-3/4", Gr 5

4шт.

192-21

LOCK WASHER,3/8"

16шт.

32

K12258

PIN

DOWEL

6шт.

33

164-599

SCREW, if used

1шт.

Выбрано товаров: 43