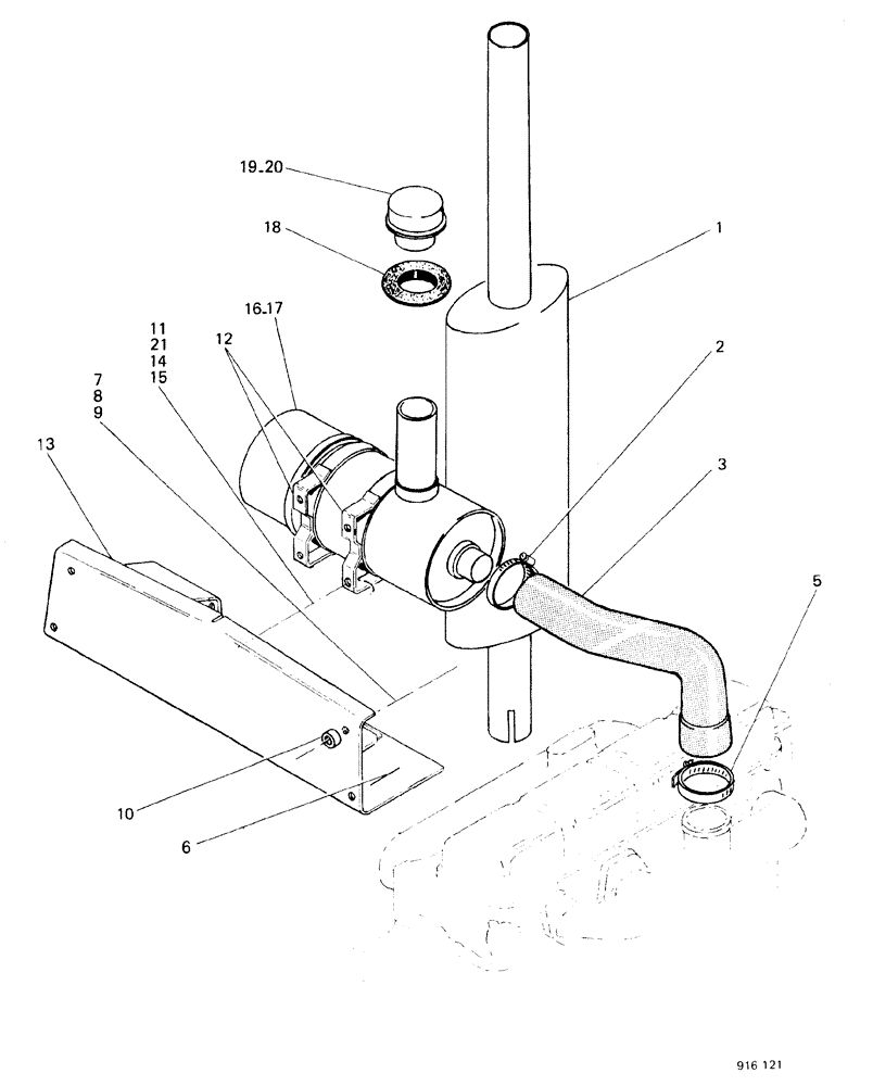
Запчасти Case 580F (053A) - AIR CLEANER AND MUFFLER, STARTING WITH NO 3.701.950, DC AND UP TO NO 3.738.055 (10) - ENGINE

Схема запчастей Case 580F - (053A) - AIR CLEANER AND MUFFLER, STARTING WITH NO 3.701.950, DC AND UP TO NO 3.738.055 (10) - ENGINE
12
10
17
3
19
1
11
15
5
21
2
18
13
7
14
8
6
20
16
9
FIT
1:1
100%

Артикул

Название

Примечание

Количество

1

D69365

MUFFLER

for Suedish and Denmark only

1шт.

1

K202702

X

MUFFLER

1шт.

2

214-261

HOSE CLAMP,#40, 2.06" - 3", Type F Worm

1шт.

3

D69356

LARGE HOSE

HOSE,LARGE

1шт.

5

214-261

HOSE CLAMP,#40, 2.06" - 3", Type F Worm

1шт.

6

131-651

NUT,5/16"-18, GB

NUT

2шт.

7

13-620

BOLT,Hex, 3/8" - 16 x 1-1/4", Gr 5, Full Thd

2шт.

8

92-6

LOCK WASHER,3/8"

2шт.

9

195-25

WASHER,3/8"

2шт.

10

D71879

SPACER

SPARE PART

4шт.

11

13-612

BOLT,Hex, 3/8" - 16 x 3/4", Gr 5, Full Thd

Cap

4шт.

12

L11247

BAND

CLAMP, Donaldson

2шт.

12

E41303

CLAMP, Sofiltra

2шт.

13

D69347

PLATE ASSY.

order E40293

1шт.

13

E40293

PLATE

1шт.

14

92-6

LOCK WASHER,3/8"

4шт.

15

25-106

NUT,3/8"-16, G5

4шт.

16

REF

INSTRUCTION

CLEANER air, see Figure 052, Donaldson

1шт.

17

REF

INSTRUCTION

CLEANER air, see Figure 052, Sofiltra

1шт.

18

R14780

GROMMET

SEAL

1шт.

19

A61276

AIR CLEANER

CAP, Donaldson

1шт.

20

E35756

CAP

Sofiltra

1шт.

21

195-25

WASHER,3/8"

4шт.

Выбрано товаров: 23