Запчасти Case 580G (228) - AXIAL BACKHOE - BOOM CYLINDER HYDRAULIC CIRCUIT (08) - HYDRAULICS

Схема запчастей Case 580G - (228) - AXIAL BACKHOE - BOOM CYLINDER HYDRAULIC CIRCUIT (08) - HYDRAULICS
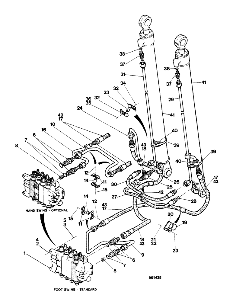
8
31
6
11
39
43
12
37
43
40
30
7
38
14
5
36
18
43
37
40
23
2
15
15
17
22
17
38
8
32
14
1
35
20
3
16
41
11
21
41
33
43
18
43
24
34
17
7
10
29
25
28
19
32
26
6
9
27
4
39
12
42
FIT
1:1
100%

Артикул

Название

Примечание

Количество

1

REF

INSTRUCTION

VALVE control, See Figure 288

1шт.

2

13-832

BOLT,Hex, 1/2" - 13 x 2", Gr 5

3шт.

3

92-8

LOCK WASHER,1/2"

3шт.

4

95-8

WASHER,1/2"

flat

3шт.

5

25-108

NUT,1/2"-13, G5

3шт.

6

218-5064

HYD CONNECTOR,1-1/16" - 12 Male JIC x 1-1/16" - 12 Male ORB

Incl. Ref. 7

2шт.

7

218-5008

O-RING,0.116" Thk x 0.924" ID, -912, Cl 6, 90 Duro

1шт.

8

D93207

FITTING

restrictor

1шт.

9

D88964

TUBE,0.75" OD

5L

1шт.

Applicable to control lever pattern as per SAE J1177

1шт.

10

D91817

HYD TUBE,19.05 mm OD x 80, 242 mm L

2L

1шт.

11

D40236

CLAMP

2-4шт.

12

413-632

BOLT,Hex, 3/8" - 16 x 2", Gr 5

1-2шт.

14

D76195

SPACER,10.31mm ID x 15.88mm OD x 17.78mm L

1-2шт.

15

131-652

LOCK NUT,3/8"-16, GB

1-2шт.

16

D120444

TUBE

1шт.

17

D88977

HOSE,15.88mm ID x 1300mm L, SAE 100R2

2L

2шт.

17

D88977

HOSE,15.88mm ID x 1300mm L, SAE 100R2

5L

1шт.

18

D88978

HOSE,15.88mm ID x 1350mm L, SAE 100R2

5L

1шт.

Applicable to control lever pattern as per SAE J1177

1шт.

19

D93472

CLAMP

2шт.

20

D93471

PLATE

2шт.

21

13-636

BOLT,Hex, 3/8" - 16 x 2-1/4", Gr 5

2шт.

22

D41740

WASHER

2шт.

23

131-6

LOCK NUT,3/8"-16, GC

2шт.

24

D69421

HYD TUBE,0.75" OD

1шт.

25

218-5239

TEE,1-1/16" - 12 Male JIC x 1-1/16" - 12 Male JIC x 1-1/16" - 12 Male ORB

Includes: Ref. 26

1шт.

26

218-5008

O-RING,0.116" Thk x 0.924" ID, -912, Cl 6, 90 Duro

1шт.

27

D50732

HOSE,12.7mm ID x 652.78mm L, SAE 100R2

Includes: Ref. 28

1шт.

28

218-5008

O-RING,0.116" Thk x 0.924" ID, -912, Cl 6, 90 Duro

1шт.

29

D69237

TUBE

1шт.

30

E45231

PIPE

1шт.

31

D69234

HYD TUBE,0.75" OD x 41.4, 2.75" L

1шт.

32

D40236

CLAMP

2шт.

33

D76195

SPACER,10.31mm ID x 15.88mm OD x 17.78mm L

1шт.

34

413-632

BOLT,Hex, 3/8" - 16 x 2", Gr 5

1шт.

35

92-6

LOCK WASHER,3/8"

1шт.

36

25-106

NUT,3/8"-16, G5

1шт.

37

218-5065

HYD CONNECTOR,1-1/16" - 12 Male JIC x 7/8" - 14 Male ORB

Includes: Ref. 38

2шт.

38

237-6010

O-RING,0.097" Thk x 0.755" ID, -910, Cl 6, 90 Duro

1шт.

39

214-267

HOSE CLAMP,#64, 3.56" - 4.5", Type F Worm

2шт.

40

D38648

BLOCK

spacer

2шт.

41

REF

INSTRUCTION

CYLINDER, See Figure 328

2шт.

42

L18331

CABLE TIE,375.9mm L, Nylon, Black

CABLE STRAP

1шт.

43

E46410

SLEEVE

(Not shown)

2шт.

Выбрано товаров: 45