Запчасти Case 580G (024) - ENGINE - MUFFLER AND EXHAUST SYSTEM (02) - ENGINE

Схема запчастей Case 580G - (024) - ENGINE - MUFFLER AND EXHAUST SYSTEM (02) - ENGINE
2
6
9
11
1
5
7
4
3
12
10
8
FIT
1:1
100%

Артикул

Название

Примечание

Количество

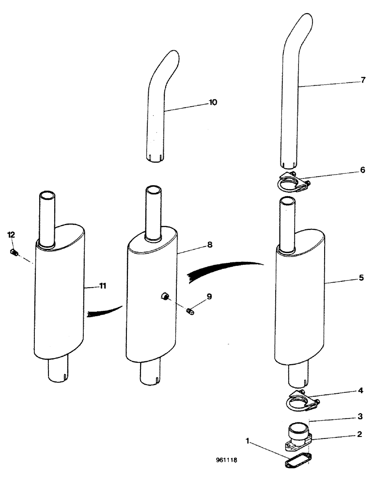
1

K68327

GASKET

, Serial Range: -11.395.596

1шт.

1

K957520

GASKET

, Start Serial: 11.395.597

1шт.

2

D92644

ADAPTER

E46378

1шт.

2

E46378

EXTENSION

ADAPTER

1шт.

3

129-103

NUT,Hex, 3/8" - 16, Gr 5

"0", Serial Range: -11.395.596

2шт.

3

129-104

NUT,7/16"-14, G5

"0", Start Serial: 11.395.597

2шт.

4

A13240

CLAMP,2-5/8" ID

1шт.

5

E45113

MUFFLER

E46115

1шт.

5

E46115

MUFFLER

1шт.

6

G45410

CLAMP

1шт.

7

D121740

EXHAUST SYSTEM PIPE

1шт.

8

D65392

MUFFLER

ARRESTOR spark, D120870, Includes: Ref. 9

1шт.

9

217-76

DRAIN PLUG,Sq Hd, 1/4"-18 NPTF, Brass

1/4 NPT

1шт.

10

D121304

PIPE

Used with spark arresting muffler only

1шт.

11

D120870

MUFFLER

ARRESTOR spark, Includes: Ref. 12

1шт.

12

217-87

PLUG,Hex Hd, 3/8"-18 NPTF, Brass

1шт.

Выбрано товаров: 16