Запчасти Case 580G (363A) - SIDESHIFT BACKHOE - CONTROLS WITH HAND SWING STARTING FROM NO. 3.948.950 (09) - CHASSIS/ATTACHMENTS

Схема запчастей Case 580G - (363A) - SIDESHIFT BACKHOE - CONTROLS WITH HAND SWING STARTING FROM NO. 3.948.950 (09) - CHASSIS/ATTACHMENTS
28
10
11
3
29
18
18
21
17
24
11
26
18
1
21
25
30
24
17
29
17
20
4
2
2
14
11
26
11
10
16
7
27
13
19
28
4
16
25
22
14
7
17
23
9
30
8
15
23
15
18
6
24
12
5
22
12
3
11
24
28
FIT
1:1
100%

Артикул

Название

Примечание

Количество

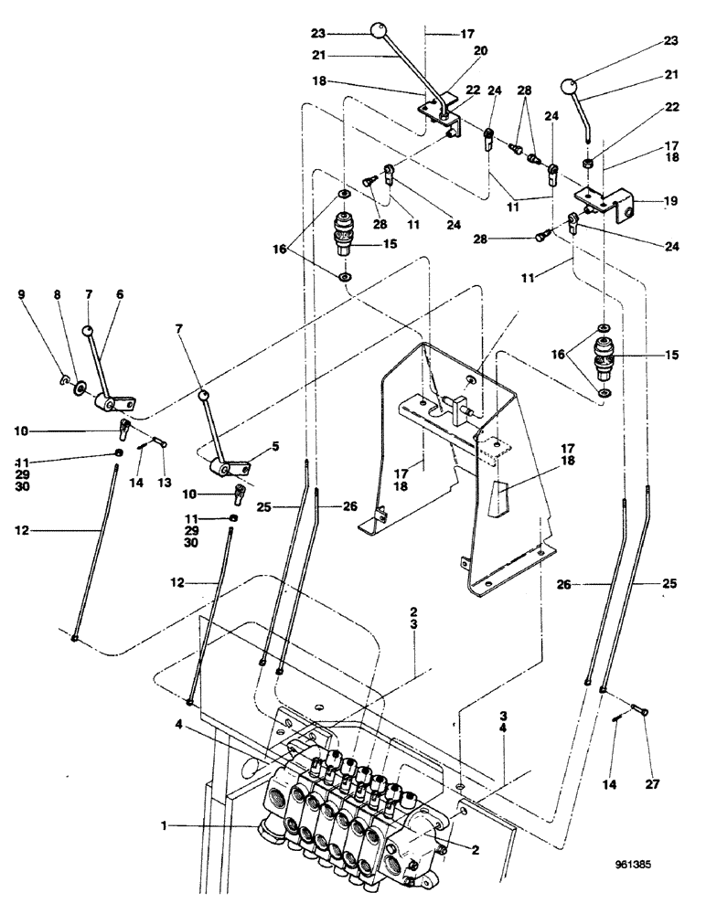
1

REF

INSTRUCTION

VALVE control, See Figure 288

1шт.

2

13-832

BOLT,Hex, 1/2" - 13 x 2", Gr 5

3шт.

3

95-8

WASHER,1/2"

flat

6шт.

4

131-654

LOCK NUT,1/2"-13, GB

3шт.

5

E45380

LEVER

control RH

1шт.

6

E45381

LEVER

control LH

1шт.

7

E45606

KNOB

2шт.

8

195-2056

WASHER,5/8" x 1" x .065"

flat

2шт.

9

D95095

RING

snap

2шт.

10

213-4

ADJUSTABLE CLEVIS,3/8"-24 x 2 1/2"

2шт.

11

25-116

NUT,Hex, 3/8"-24, G5

6шт.

12

E45386

ROD

SPARE PART

2шт.

13

141-54

CLEVIS PIN,3/8" x 1 1/16"

2шт.

14

132-26

COTTER PIN

3/32" x 3/4"

8/2шт.

14

E46475

AXLE PIN

hair

6шт.

15

E45398

UNIVERSAL JOINT

2шт.

16

193-71

LOCK WASHER,Ext-Int Tooth, 5/16"

4шт.

17

14-512

BOLT,Hex, 5/16" - 24 x 3/4", Gr 5, Full Thd

4шт.

18

92-5

LOCK WASHER,5/16"

4шт.

19

E46108

BRACKET

RH

1шт.

20

E46107

BRACKET

LH

1шт.

21

E45389

LEVER

control

2шт.

22

25-108

NUT,1/2"-13, G5

2шт.

23

E45605

KNOB

2шт.

24

S108030

JOINT

ball

4шт.

25

E45390

ROD

2шт.

26

E45391

ROD

2шт.

27

D88430

PIN,7.9mm OD x 26.47mm L

clevis

6шт.

28

E46118

BOLT

4шт.

29

195-104

WASHER,3/8"

flat, If used

2шт.

30

25-116

NUT,Hex, 3/8"-24, G5

If used

2шт.

Выбрано товаров: 31