Запчасти Case 580G (457E) - SEAT MOUNTING PARTS AND SEAT BELT, UP TO NO. 3.941.044 (09) - CHASSIS/ATTACHMENTS

Схема запчастей Case 580G - (457E) - SEAT MOUNTING PARTS AND SEAT BELT, UP TO NO. 3.941.044 (09) - CHASSIS/ATTACHMENTS
25
18
4
16
26
29
22
27
12
19
15
11
18
20
19
1
13
3
17
5
21
9
23
28
20
8
10
19
7
24
6
14
FIT
1:1
100%

Артикул

Название

Примечание

Количество

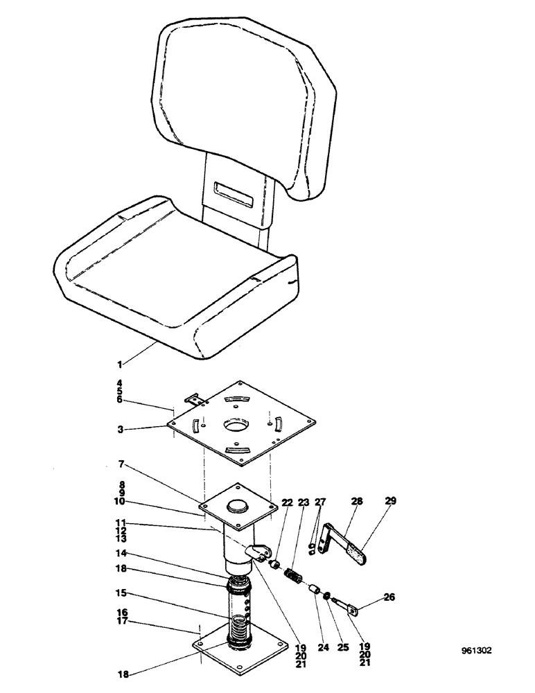
1

E44731

SEAT

(See Figure 457A)

1шт.

1

E44783

SEAT

(See Figure 457A)

1шт.

1

E45265

SEAT

(See Figure 457A)

1шт.

2

E44526

SAFETY BELT

seat (See Figure 446)

1шт.

3

E44844

PLATE

swivel (See Figure 450), E46249

1шт.

3

E46249

PLATE

SPARE PART swivel (See Figure 450)

1шт.

4

113-102

BOLT,Hex, 5/16" - 18 x 3/4", Gr 5

4шт.

5

192-20

LOCK WASHER,Helical Spring, 0.318" ID, CST, ZND

4шт.

6

9635082

NUT,5/16" - 18, Gr 5

4шт.

7

E44758

POST

SPARE PART ASSY

1шт.

8

814-8020

BOLT,Hex, M8 x 1.25 x 20mm, Cl 8.8, Full Thd

4шт.

9

895-11008

WASHER,9mm ID x 16mm OD x 1.6mm Thk

4шт.

10

825-1108

NUT,Hex, M8, Cl 8

4шт.

11

E44771

POINT

SPARE PART SETSCREW dog

1шт.

12

892-1016

LOCK WASHER,M16

1шт.

13

829-1216

NUT

1шт.

14

E44757

COLUMN JACKET

SPARE PART Wdt.

1шт.

15

E44761

SPRING

1шт.

16

113-417

BOLT,Hex, 1/2" - 13 x 1-1/4", Gr 5, Full Thd

4шт.

17

192-23

LOCK WASHER,1/2"

4шт.

18

E42117

BUSHING

2шт.

19

814-6025

BOLT,Hex, M6 x 1 x 25mm, Cl 8.8, Full Thd

2шт.

20

895-11006

WASHER,6.6mm ID x 12mm OD x 1.6mm Thk

4шт.

21

E44772

NUT

2шт.

22

E44763

LATCH

PAWL

1шт.

23

E44767

SPRING

SPARE PART

1шт.

24

E44766

SPACER

SPARE PART

1шт.

25

895-11010

WASHER,11mm ID x 20mm OD x 2mm Thk

1шт.

26

E44759

PIN

SPARE PART

1шт.

27

E44762

SPACER

SPARE PART

2шт.

28

E44760

LEVER

SPARE PART

1шт.

29

E44765

COVER

SPARE PART

1шт.

Выбрано товаров: 32