Запчасти Case 580G (457G) - SEAT MOUNTING PARTS AND SEAT BELT, STARTING FROM NO.3.941.045 (09) - CHASSIS/ATTACHMENTS

Схема запчастей Case 580G - (457G) - SEAT MOUNTING PARTS AND SEAT BELT, STARTING FROM NO.3.941.045 (09) - CHASSIS/ATTACHMENTS
12
9
13
3
17
16
10
11
4
7a
18
2
1
8
7
5
15
6
7
14
FIT
1:1
100%

Артикул

Название

Примечание

Количество

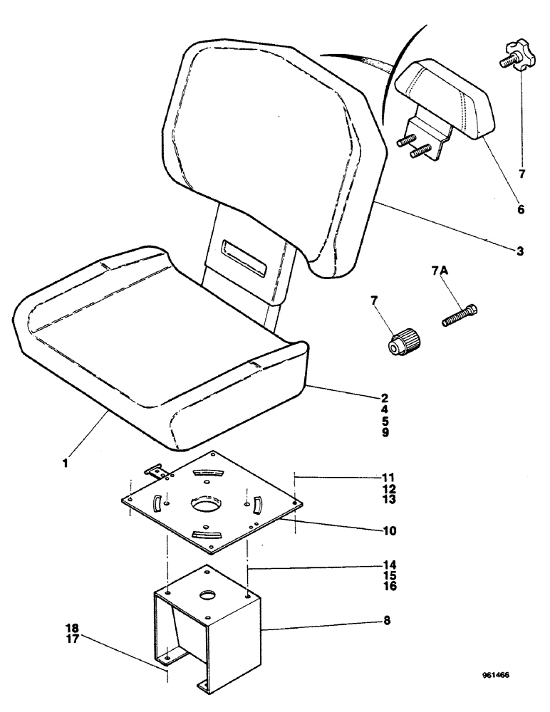
1

E46458

SEAT

ASSY vinyl, Includes: Ref. 2 - 5

1шт.

1

E46459

SEAT

ASSY fabric, Includes: Ref. 2 - 5

1шт.

2

E45904

CUSHION ASSY.

vinyl

1шт.

2

E45908

CUSHION ASSY.

fabric

1шт.

3

E45905

BACKREST

ASSY vinyl

1шт.

3

E45909

BACKREST

ASSY fabric

1шт.

4

E45906

SUSPENSION BLOCK

ASSY

1шт.

5

E45907

SHOCK ABSORBER

1шт.

6

E46460

HEADREST, SEAT

HEADREST ASSY vinyl, Includes: Ref. 7

1шт.

6

E46461

CUSHION

HEADREST ASSY fabric, Includes: Ref. 7

1шт.

7

E45910

BUTTON

KNOB holding

2шт.

E46915 + 814-8020

1шт.

7

E46915

BUTTON

KNOB adjusting

2шт.

7a

814-8020

BOLT,Hex, M8 x 1.25 x 20mm, Cl 8.8, Full Thd

2шт.

8

E46399

SUPPORT

SPARE PART PEDESTAL

1шт.

9

E44526

SAFETY BELT

seat, See Figure 446

1шт.

10

E46249

PLATE

SPARE PART swivel, See Figure 450

1шт.

11

113-102

BOLT,Hex, 5/16" - 18 x 3/4", Gr 5

4шт.

12

192-20

LOCK WASHER,Helical Spring, 0.318" ID, CST, ZND

4шт.

13

9635082

NUT,5/16" - 18, Gr 5

4шт.

14

814-8020

BOLT,Hex, M8 x 1.25 x 20mm, Cl 8.8, Full Thd

4шт.

15

895-11008

WASHER,9mm ID x 16mm OD x 1.6mm Thk

4шт.

16

825-1108

NUT,Hex, M8, Cl 8

4шт.

17

113-417

BOLT,Hex, 1/2" - 13 x 1-1/4", Gr 5, Full Thd

4шт.

18

192-23

LOCK WASHER,1/2"

4шт.

Выбрано товаров: 0