Запчасти Case 580G (530) - SUNSHADE UP TO NO. 3.808.596 (09) - CHASSIS/ATTACHMENTS

Схема запчастей Case 580G - (530) - SUNSHADE UP TO NO. 3.808.596 (09) - CHASSIS/ATTACHMENTS
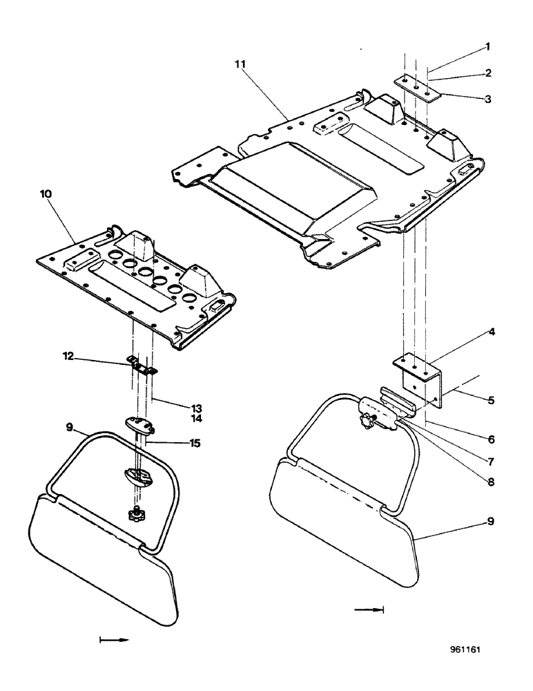
10
9
2
11
4
12
6
14
1
3
8
13
5
15
9
7
FIT
1:1
100%

Артикул

Название

Примечание

Количество

1

7770

NUT,Hex, 1/4 - 20, Cl 5

3шт.

2

192-19

LOCK WASHER,Helical Spring, 0.256" ID, CST, ZND

3шт.

3

E42925

PLATE

1шт.

4

E42924

PLATE

BRACKET

1шт.

5

113-2

BOLT,Hex, 1/4" - 20 x 5/8", Gr 5

2шт.

6

113-2

BOLT,Hex, 1/4" - 20 x 5/8", Gr 5

3шт.

7

192-19

LOCK WASHER,Helical Spring, 0.256" ID, CST, ZND

2шт.

8

7770

NUT,Hex, 1/4 - 20, Cl 5

2шт.

9

E34882

VISOR, SUN

1шт.

10

REF

INSTRUCTION

HEADLINER front, See Ref. 2 Figure 480

1шт.

11

REF

INSTRUCTION

HEADLINER, See Ref. 1 Figure 480

1шт.

12

E44336

BRACKET

To be used with Ref. 10 only

1шт.

13

F63765

WASHER

To be used with Ref. 10 only

2шт.

14

187-1084

SELF-TAP SCREW,Cross Oval Hd, #10 x 3/4"

To be used with Ref. 10 only

2шт.

15

171-212

SCREW,Sl Flat Hd, #10 - 24 x 5/8"

To be used with Ref. 10 only

2шт.

Выбрано товаров: 15