Запчасти Case 580G (531A) - SUNSHADE - HEADLINER STARTING FROM NO. 3.808.597 (09) - CHASSIS/ATTACHMENTS

Схема запчастей Case 580G - (531A) - SUNSHADE - HEADLINER STARTING FROM NO. 3.808.597 (09) - CHASSIS/ATTACHMENTS
3
5
7
4
8
7
2
3
5
3
4
1
2
6
4
6
FIT
1:1
100%

Артикул

Название

Примечание

Количество

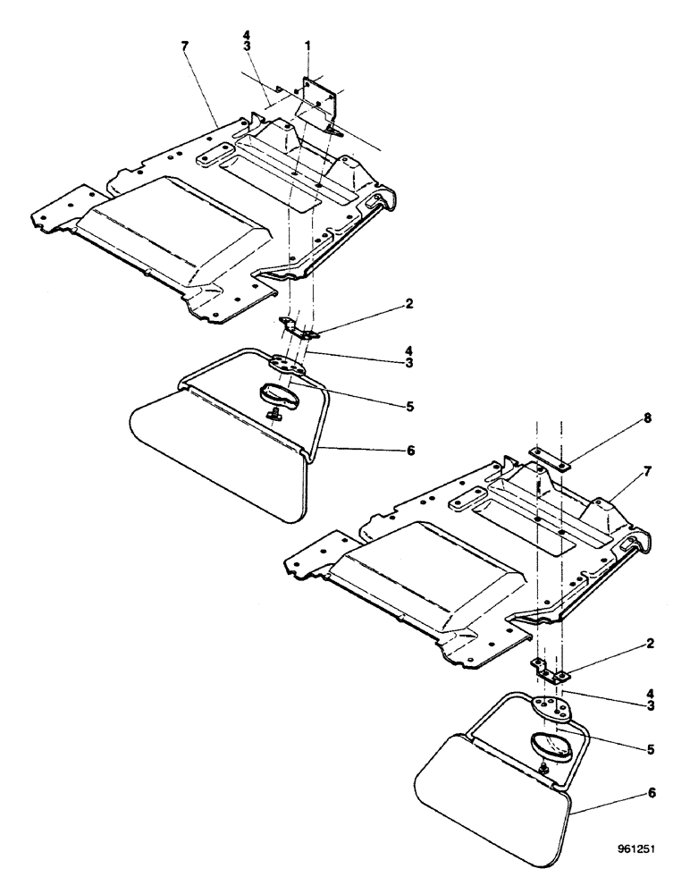
1

E45798

BRACKET

1шт.

2

E44336

BRACKET

1шт.

3

193-57

LOCK WASHER,Ext Tooth, 1/4"

2-4шт.

4

113-3

BOLT,Hex, 1/4" - 20 x 3/4", Gr 5

2-4шт.

5

171-212

SCREW,Sl Flat Hd, #10 - 24 x 5/8"

2шт.

6

E34882

VISOR, SUN

1шт.

7

REF

INSTRUCTION

HEADLINER (See figure 480)

1шт.

8

E45744

PLATE

1шт.

Выбрано товаров: 0