Запчасти Case 580G (089A) - REAR SIGNAL LAMPS - SIDESHIFT BACKHOE STARTING FROM NO. 3.948.950 (04) - ELECTRICAL SYSTEMS

Схема запчастей Case 580G - (089A) - REAR SIGNAL LAMPS - SIDESHIFT BACKHOE STARTING FROM NO. 3.948.950 (04) - ELECTRICAL SYSTEMS
3
5
8
6
a
4
2
2
7
1
3
FIT
1:1
100%

Артикул

Название

Примечание

Количество

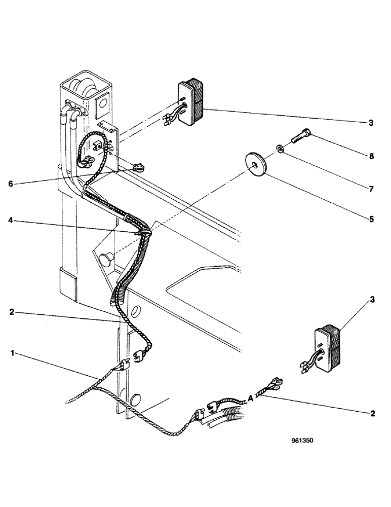
1

REF

INSTRUCTION

HARNESS main, See Figure 68

1шт.

2

E44932

HARNESS

lamp

2шт.

3

REF

INSTRUCTION

LAMP, See figure 93A

2шт.

4

L11541

CABLE TIE,203.2mm L, Nylon

CABLE STRAP tie

2шт.

5

3233791R2

REFLECTOR

2шт.

6

E41161

FASTENER

2шт.

7

192-18

LOCK WASHER,Helical Spring, #10, 0.196" ID, CST, ZND

2шт.

8

182-516

SCREW,Sl Pan Hd, #10 - 24 x 1/2"

2шт.

Выбрано товаров: 8