Запчасти Case 680H (204) - EQUIPMENT HYDRAULIC CIRCUIT, FILTER TO OIL COOLER (08) - HYDRAULICS

Схема запчастей Case 680H - (204) - EQUIPMENT HYDRAULIC CIRCUIT, FILTER TO OIL COOLER (08) - HYDRAULICS
FIT
1:1
100%

Артикул

Название

Примечание

Количество

1

L114122

FILTER

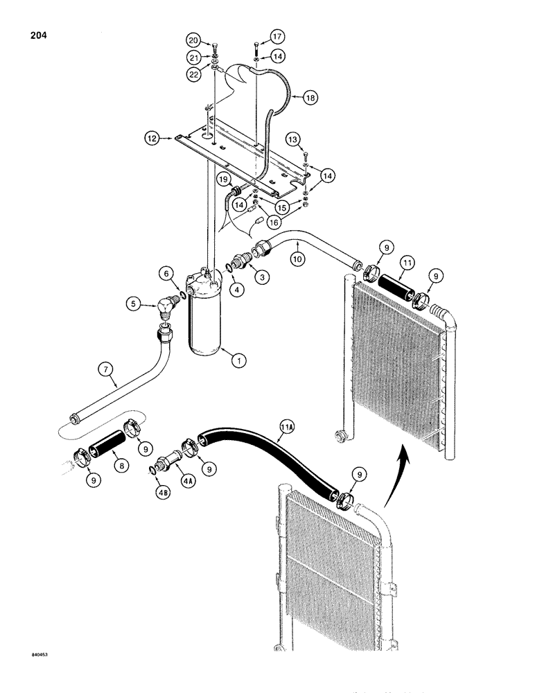
- hydraulic oil, parts list Figure 205A

1шт.

Filter package A45625 includes two elements and two gaskets. Refer to CE Service Bulletin 100-84. Cannister must be tightened one full turn after contact with gasket A139281.

1шт.

2

RESERVED

1шт.

3

L105203

FITTING

CONNECTOR - filter inlet, used with L108816 oil cooler, Includes: Ref. 4

1шт.

4

218-5010

O-RING,0.116" Thk x 1.171" ID, -916, Cl 6, 90 Duro

- connector

1шт.

4a

217-199

FITTING

STEM FITTING - straight, hose to filter, used with L106968 oil cooler, Includes: Ref. 4B

1шт.

4b

218-5010

O-RING,0.116" Thk x 1.171" ID, -916, Cl 6, 90 Duro

- fitting

1шт.

5

218-5122

ELBOW,90 Degree Elbow, 1-7/8" - 12 Male JIC x 1-5/16" - 12 Male ORB

- 90 degree, Includes: Ref. 6

1шт.

6

218-5010

O-RING,0.116" Thk x 1.171" ID, -916, Cl 6, 90 Duro

- fitting

1шт.

7

L105197

TUBE ASSY.,1.5" OD x 20.1, 7.62" L

TUBE - filter to hydraulic reservoir

1шт.

8

L108096

HOSE,1.50" ID x 7.00", SAE 100R1 Type A

- filter to hydraulic reservoir, 7" (177 mm) long

1шт.

9

214-175

HOSE CLAMP,1-1/4" - 2-1/8", HD Worm

filter to hydraulic reservoir 1.25/2.125 HD Worm

4шт.

10

L105195

TUBE ASSY.,1.5" OD x 14.05, 8.59" L

TUBE - oil cooler to filter, used with L108816 oil cooler

1шт.

11

L108096

HOSE,1.50" ID x 7.00", SAE 100R1 Type A

- oil cooler to filter, 7" (177 mm) long, used with L108816 oil cooler

1шт.

11a

L108481

HOSE,1.50" ID x 24.00", SAE 100R1 Type A

- oil coler to filter, 24" (610 mm) long, used with L106968 oil cooler

1шт.

12

L107969

BRACKET

- filter to hood mounting

1шт.

13

13-512

BOLT,Hex, 5/16" - 18 x 3/4", Gr 5

5шт.

14

95-5

WASHER,3/8" x 7/8" x .083"

- flat, 5/16"

14шт.

15

92-5

LOCK WASHER,5/16"

7шт.

16

131-665

LOCK NUT,5/16"-18, GB

NUT - hex, self-locking, 5/16" - 18 NC

7шт.

17

13-520

BOLT,Hex, 5/16" - 18 x 1-1/4", Gr 5

- hex head, 5/16" - 18 NC x 1-1/4"

2шт.

18

L105248

HARNESS

- filter to front harness

1шт.

19

A27338

GROMMET

- filter harness

1шт.

20

13-612

BOLT,Hex, 3/8" - 16 x 3/4", Gr 5, Full Thd

3шт.

21

92-6

LOCK WASHER,3/8"

3шт.

22

95-6

WASHER,3/8"

- flat, 3/8"

3шт.

Выбрано товаров: 26