Запчасти Case 680H (356) - SUSPENSION SEAT ADJUSTER ASSEMBLY (09) - CHASSIS/ATTACHMENTS

Схема запчастей Case 680H - (356) - SUSPENSION SEAT ADJUSTER ASSEMBLY (09) - CHASSIS/ATTACHMENTS
FIT
1:1
100%

Артикул

Название

Примечание

Количество

D123290

SUSPENSION

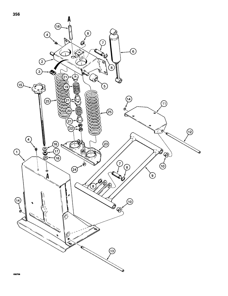
ADJUSTER ASSEMBLY - suspension seat, Includes: Ref. 1 - 25

1шт.

1

NSS

NOT SOLD SEPARAT

HOUSING - adjuster assembly

1шт.

2

NSS

NOT SOLD SEPARAT

BRACKET - springs, upper

1шт.

3

N8484

INSULATOR BLOCK

BUMPER - rubber

1шт.

4

N8487

RIVET

- plastic, yellow, weight indicator

2шт.

5

N8500

ROLLER

- upper bracket, seat adjustment

2шт.

6

N8488

SHOCK ABSORBER

- adjuster assembly

1шт.

7

N8485

AXLE PIN

PIN - shock absorber mounting

2шт.

8

A27785

CIRCLIP,#62, .480" Dia, E-Type

Ring, Retaining, , pin #62, .480" Dia, E-Type

4шт.

9

NSS

NOT SOLD SEPARAT

ARM - seat adjuster, Includes: Ref. 10

1шт.

10

N8527

BUSHING

- arm pivot

4шт.

11

N8489

BRACKET

- seat pivot, front

1шт.

12

N8490

SHAFT

- seat adjuster arm, front

1шт.

13

N8492

SHAFT

- seat adjuster arm, rear

1шт.

14

G46146

SNAP RING,#37, Ext

Ring, Snap, , shaft, seat adjuster arm #37, Ext

2шт.

15

N8503

ADJUSTER

- seat, screw with knob

1шт.

16

N8502

WASHER

THRUST WASHER - adjuster knob

2шт.

17

F13537

THRUST BEARING

- adjuster knob

1шт.

18

N8501

SPACER

- vinyl, seat adjuster

1шт.

19

N8496

VALVE SPRING

SPRING - seat adjuster, upper

1шт.

20

N8494

VALVE SPRING

SPRING - seat adjuster, lower

1шт.

21

N8495

RETAINER

- springs, seat adjuster

4шт.

22

N8497

NUT

- special, seat adjuster, upper

2шт.

23

NSS

NOT SOLD SEPARAT

BRACKET - springs, lower

1шт.

24

131-1280

JAM NUT,Jam, 1/4"-20

JAM NUT - hex, 1/4" - 20 NC, plated

1шт.

25

N8498

VALVE SPRING

SPRING - large, adjuster assembly

2шт.

Выбрано товаров: 26