Запчасти Case 580K (06-234) - TRANSAXLE SHIFTER MECHANISM (06) - POWER TRAIN

Схема запчастей Case 580K - (06-234) - TRANSAXLE SHIFTER MECHANISM (06) - POWER TRAIN
3
7
27
18
13
17
16
26
19
14
25
19
15
22
16
5
6
18
4
24
23
2
12
1
FIT
1:1
100%

Артикул

Название

Примечание

Количество

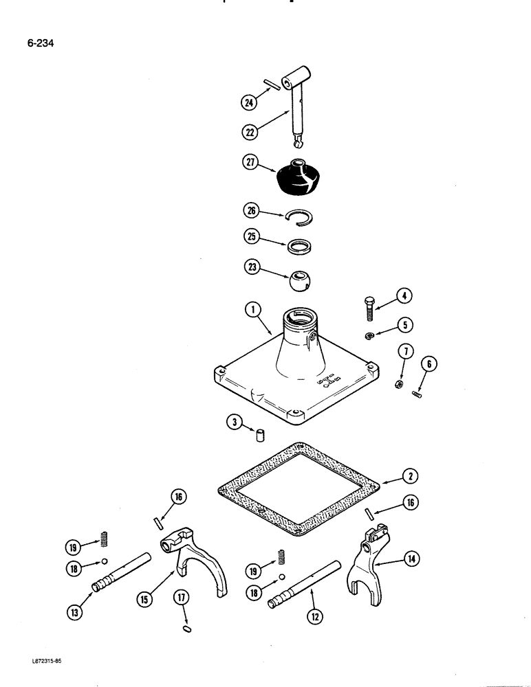
1

A138312

COVER

shift control

1шт.

2

G10342

GASKET

cover to transmission housing

1шт.

3

138-245

LOCK PIN,1/2" x 7/8", Slotted

Pin, 1/2" x 7/8", Slotted

1шт.

4

13-624

BOLT,Hex, 3/8" - 16 x 1-1/2", Gr 5

hex, 3/8" NC x 1-1/2"

4шт.

5

92-6

LOCK WASHER,3/8"

4шт.

6

G15468

SET SCREW,5/16" - 18 x 3/4"

set, shift lever retaining, 5/16" NC

1шт.

7

25-145

JAM NUT,Jam, 5/16"-18, G5

hex jam lock, 5/16" NC

1шт.

12

A138313

RAIL ASSY.

RAIL shifter, first and second gear

1шт.

Ref. 12 and 13 shift rails originally had three grooves around the rail circumference. Service bulletin NLB SB 006 90 explains that the only groove that now runs the circumference is the neutral groove. The two in gear positions have flats for the detents. This improves the shift action.

1шт.

13

A140578

RAIL ASSY.

RAIL shifter, third and fourth gear

1шт.

Ref. 12 and 13 shift rails originally had three grooves around the rail circumference. Service bulletin NLB SB 006 90 explains that the only groove that now runs the circumference is the neutral groove. The two in gear positions have flats for the detents. This improves the shift action.

1шт.

14

A51964

FORK

ASSEMBLY shift, first and second gear

1шт.

15

A150726

FORK

shifter, third and fourth gear

1шт.

16

138-2009

PIN,3/16" x 1", Coiled

2шт.

17

A29060

PLUG

interlock, shifter rails

1шт.

18

211-211

BALL,13/32" Dia

detent, meter 13/32" Dia

2шт.

19

G47039

SPRING

tension, detent ball

2шт.

22

A182622

LEVER

ASSEMBLY shift, transmission

1шт.

23

A144397

BALL

lever

1шт.

24

A156515

PIN

groove, lever ball

1шт.

25

A7923

SEAT

lever, shift

1шт.

26

A26836

RING, SNAP

RING snap

1шт.

27

A26956

DUST CAP

COVER dust

1шт.

Выбрано товаров: 0