Запчасти Case 580K (09-454[1]) - LOADER BUCKET, LONG LIP (09) - CHASSIS/ATTACHMENTS

Схема запчастей Case 580K - (09-454[1]) - LOADER BUCKET, LONG LIP (09) - CHASSIS/ATTACHMENTS
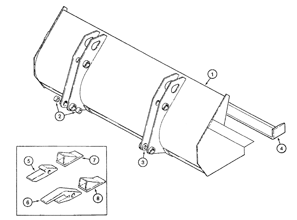
1
2
4
3
8
7
5
6
FIT
1:1
100%

Артикул

Название

Примечание

Количество

1

D146364

BUCKET

BUCKET ASSEMBLY loader, 82" (2083 mm) wide, with teeth, machniery item, order from Machinery Price List, Includes: Ref. 2-4

1шт.

2

D129264

BUSHING,40.3mm ID x 50mm OD x 28mm L

BUSHING bucket ear

8шт.

3

D135602

WASHER

WASHER flat, 1-5/8" ID x 2-3/8" OD, hardened, special, welded to lower inner bucket ear

2шт.

4

D122568

CUTTING EDGE,6” W x 80.5” L x 4” H x 3/4” Thk

EDGE cutting, front, 82" (2083 mm) bucket

1шт.

5

D26368

SUPPORT

SHANK tooth, original equipment, bucket

10шт.

6

D58499

SUPPORT

SHANK tooth, heavy duty service option, bucket

10шт.

7

D27748

TOOTH

POINT tooth, original equipment, bucket

10шт.

8

D36720

TOOTH

POINT tooth, heavy duty service option, bucket

10шт.

D145681

EDGE

EDGE cutting, bolt-on, 82", with 10 holes to accept 3/4" plow bolts, same as ZPC215381 available thru Ship Direct Central, purchase option for bucket

1шт.

D145680

EDGE, CUTTING

EDGE cutting, bolt-on, 82", with bent up edges, weld-in section, same as ZPC21612 available thru Ship Direct Central, purchase option for bucket

1шт.

118-503

PLOW BOLT,3/4"-10 x 2 1/4", G8

BOLT, hardware for bolt-on cutting edge P/N D145680 and D145681

1шт.

429-1012

NUT,3/4"-10, G8

Hardware for bolt-on cutting edge P/N D145680 and D145681

1шт.

Выбрано товаров: 12