Запчасти Case 580K (09-630) - OPERATORS TOOL BOX (09) - CHASSIS/ATTACHMENTS

Схема запчастей Case 580K - (09-630) - OPERATORS TOOL BOX (09) - CHASSIS/ATTACHMENTS
1
14
16
4
6
2
3
9
22
19
18
20
15
7
17
8
13
21
10
12
11
5
FIT
1:1
100%

Артикул

Название

Примечание

Количество

1

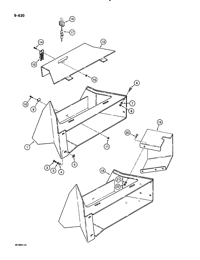
D131923

BOX, TOOL

BOX tool, tractor, mounts on left-hand side of chassis, used on models without auxiliary remote hydraulics for hand held attachments

1шт.

2

113-221

BOLT,Hex, 3/8" - 16 x 7/8", Gr 5

2шт.

3

192-21

LOCK WASHER,3/8"

WASHER, LOCK, 3/8"

2шт.

4

195-525

WASHER,3/8", SAE

flat, 3/8", plated

2шт.

5

84899

SQUARE NUT,Sq, 3/8"-16, G2

square, 3/8" - 16 NC, plated

2шт.

6

113-208

BOLT,Hex, 3/8" - 16 x 1-1/4", Gr 5

2шт.

7

192-21

LOCK WASHER,3/8"

WASHER, LOCK, 3/8"

2шт.

8

129-103

NUT,Hex, 3/8" - 16, Gr 5

NUT, 3/8"-16, G5

2шт.

9

D131941

PLATE

STRIKER tool box latch

1шт.

10

113-1004

SCREW,Hex, #10 - 24 x 5/8", Gr 5

2шт.

11

86632551

NUT,#10-24, GB

NUT, LOCK, #10-24, GB

2шт.

12

D131928

COVER

tool box

1шт.

13

D131940

LATCH

tool box

1шт.

14

113-1004

SCREW,Hex, #10 - 24 x 5/8", Gr 5

2шт.

15

86632551

NUT,#10-24, GB

NUT, LOCK, #10-24, GB

2шт.

16

D93753

PADLOCK

tool box, if used, Includes: Ref. 17

1шт.

17

R29555

KEY

for Master padlock only

2шт.

17

D93751

SET OF 2 KEYS

KEY, for Yale padlock only

2шт.

18

D143612

TRANSFER BOX

BOX tool, tractor, mounts on left-hand side of chassis, used on models with auxiliary remote hydraulics for hand held attachments

1шт.

19

D143555

PROTECTOR

GUARD selector valve, used with Ref. 18 tool box

1шт.

20

113-207

BOLT,Hex, 3/8" - 16 x 1", Gr 5

3шт.

21

192-21

LOCK WASHER,3/8"

WASHER, LOCK, 3/8"

3шт.

22

129-103

NUT,Hex, 3/8" - 16, Gr 5

NUT, 3/8"-16, G5

3шт.

Выбрано товаров: 0