Запчасти Case 580K (04-108) - BATTERIES AND CABLES, COLD START SYSTEM (04) - ELECTRICAL SYSTEMS

Схема запчастей Case 580K - (04-108) - BATTERIES AND CABLES, COLD START SYSTEM (04) - ELECTRICAL SYSTEMS
16
17
15
6
8
10
13
3
12
5
4
14
2
7
1
9
11
FIT
1:1
100%

Артикул

Название

Примечание

Количество

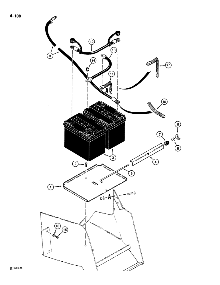
1

D135495

TRAY

PLATE battery tray

1шт.

2

113-206

BOLT,Hex, 3/8" - 16 x 3/4", Gr 5, Full Thd

2шт.

3

D127414

DRY BATTERY

12 volt, service replacement, order P/N BMF28S

2шт.

4

D135493

ANGLE

BRACKET battery hold down

1шт.

5

D135494

BOLT

J-type, 3/8"-16 NC x 11-7/32"

1шт.

6

G49400

WASHER

flat, 3/8", special

1шт.

7

G46867

GROMMET

bolt

1шт.

8

129-410

WING NUT,3/8"-16

NUT wing, NC, plated 3/8"-16

1шт.

9

D139947

CABLE

positive

1шт.

10

D139094

SLEEVE

positive cable, guard, 37-13/32" (950 mm) long, cut from P/N D99461 bulk sleeve, see below

1шт.

11

D120366

STRAP

6" (152 mm) long, negative ground to battery box, no longer used, order P/N D140369 strap

1шт.

12

D126410

CABLE

positive jumper

1шт.

13

D126412

CABLE

negative jumper

1шт.

14

D126409

NUT,Hex, M14, 20mm OD, 3/8" - 16

hex, special, battery terminal, 3/8"-16 NC

4шт.

15

113-221

BOLT,Hex, 3/8" - 16 x 7/8", Gr 5

1шт.

16

192-21

LOCK WASHER,3/8"

WASHER, LOCK, 3/8"

1шт.

17

D140369

GROUND STRAP,260mm L

STRAP, 10-1/4" (260 mm) long, negative ground to battery box

1шт.

D99461

LOOM

SLEEVE bulk, 80" (2032 mm) long

1шт.

Выбрано товаров: 18