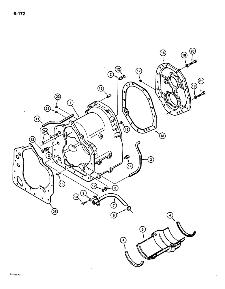
Запчасти Case 680K (6-172) - TRANSMISSION HOUSING, REAR COVER AND TUBES (06) - POWER TRAIN

Схема запчастей Case 680K - (6-172) - TRANSMISSION HOUSING, REAR COVER AND TUBES (06) - POWER TRAIN
FIT
1:1
100%

Артикул

Название

Примечание

Количество

D140040

TRANSMISSION

ASSEMBLY - forward and reverse, with fixed stator, parts list Figures 6-172 through 6-192, Includes: Ref. 1 - 25

1шт.

D140040

TRANSMISSION

ASSEMBLY - forward and reverse, with free wheeling stator, parts list Figures 6-172 through 6-192, Includes: Ref. 1 - 25

1шт.

1

N7139

HOUSING

- transmission case, Includes: Ref. 2 - 11

1шт.

2

A55734

SLEEVE

- tube

2шт.

3

N7142

TUBE,0.625" OD x 8.06" L

- clutch lube

1шт.

4

N7143

OIL SEAL

SEAL - oil baffle

2шт.

5

N7144

BAFFLE

- oil, housing

1шт.

6

N6595

O-RING

- suction tube

1шт.

7

N7145

TUBE,1.13" DIA x 6.38" L

- suction

1шт.

8

D87207

SLEEVE

- tube

1шт.

9

492-11031

LOCK WASHER,5/16"

WASHER, LOCK, 5/16"

2шт.

10

413-510

BOLT,Hex, 5/16" - 18 x 5/8", Gr 5

- hex, 5/16 NC x 5/8 inch, plated

2шт.

11

N7146

TUBE,12.81" L

- housing

1шт.

12

L33542

O-RING,0.139" Thk x 0.796" ID, -211, Cl 7, 75 Duro

- sleeve tube

3шт.

13

S117872

PLUG

- 1/4", special, transmission case

1шт.

14

221-659

DRAIN PLUG,Hex Soc, 3/4" NPT

PLUG - hex socket head, 3/4" NPT, magnetic, drain

2шт.

15

50-2828T1

PIN

- dowel, Serial Range: case-cover

3шт.

16

N7136

COVER

- rear, transmission case, Includes: Ref. 17

1шт.

17

221-849

PLUG,Hex Soc, 1/8"-27

- hex socket head, 1/8" NPT, rear cover

1шт.

18

N7137

GASKET

- rear, Serial Range: cover-housing

1шт.

19

492-11044

LOCK WASHER,7/16"

WASHER, LOCK, 7/16"

15шт.

20

413-728

BOLT,Hex, 7/16" - 14 x 1-3/4", Gr 5

9шт.

21

413-720

BOLT,Hex, 7/16" - 14 x 1-1/4", Gr 5

- hex head, 7/16" - 14 NC x 1-1/4", plated

6шт.

22

S117872

PLUG

- 1/4", special, transmission case

1шт.

23

221-843

PLUG,Hex Soc, 3/8"-18

- hex socket head, 3/8" NPT, transmission case

1шт.

24

E114251

O-RING

- clutch pressure

2шт.

25

N7138

WASHER

GASKET - transmission housing

1шт.

Выбрано товаров: 27