Запчасти Case 580L (7-004) - REAR DRIVE AXLE, PARKING BRAKE (07) - BRAKES

Схема запчастей Case 580L - (7-004) - REAR DRIVE AXLE, PARKING BRAKE (07) - BRAKES
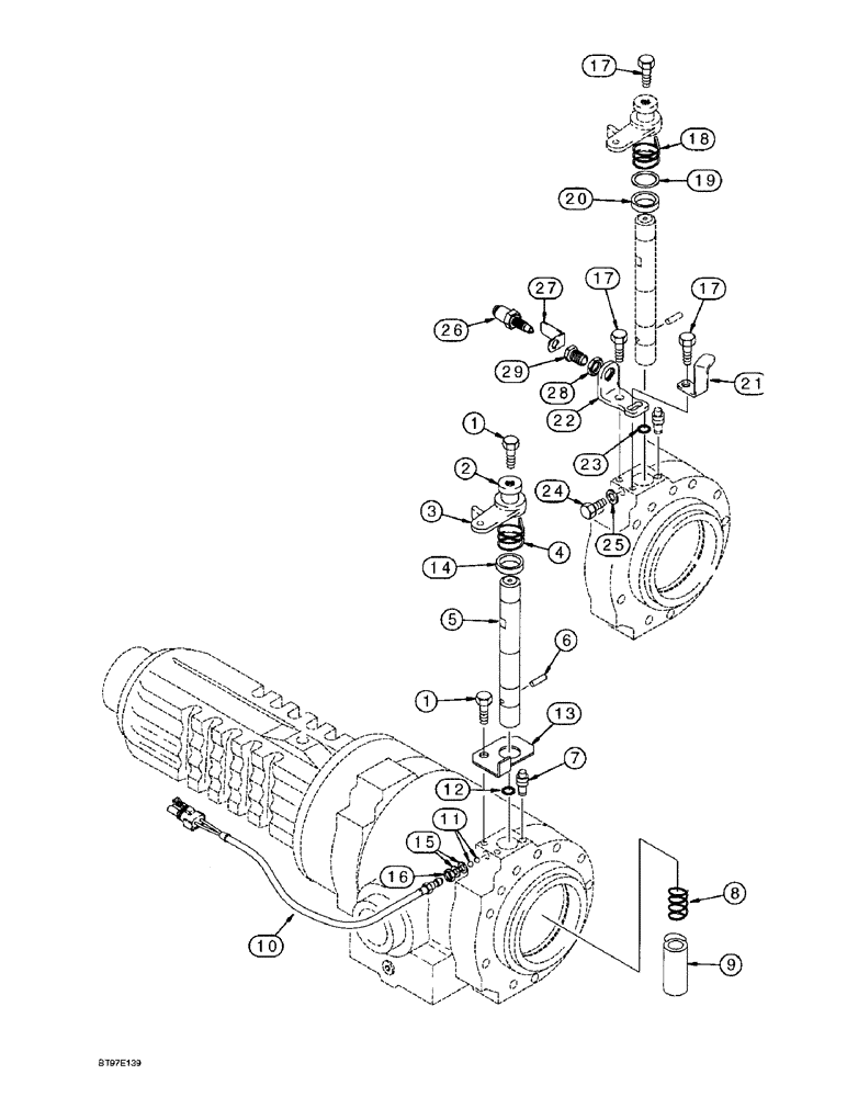
18
19
13
29
16
7
4
14
25
12
17
15
3
21
24
1
1
28
9
26
10
6
17
5
22
23
20
27
11
8
2
17
FIT
1:1
100%

Артикул

Название

Примечание

Количество

114367A2

AXLE, REAR

AXLE ASSEMBLY, rear drive, Carraro No. 132884, see Figure 6-052 - 6-060, 7-002 and 7-004, no longer available, order P/N 114367A5 axle, Includes: Ref. 1 -16

1шт.

See Figure 7-05A for parking brake used with 114367A5 rear drive axle

1шт.

114367A3

AXLE, REAR

AXLE ASSEMBLY, rear drive, Carraro No. 134170, see Figure 6-053A - 6-060, 7-002 and 7-004, also includes P/N 187562A2 bracket, Ref. 18 on Figure 6-050, no longer available, order P/N 114367A5 axle, Includes: Ref. 1 -16

1шт.

See Figure 7-05A for parking brake used with 114367A5 rear drive axle.

1шт.

114367A4

AXLE, REAR

AXLE ASSEMBLY, rear drive, see Figure 6-053A - 6-060, 7-003A and 7-004, also includes P/N 187562A2 bracket, Ref. 18 on Figure 6-050, no longer available, order P/N 114367A5 axle on Figure 6-053A, Includes: Ref. 1 -16

1шт.

See Figure 7-05A for parking brake used with 114367A5 rear drive axle.

1шт.

1

190451A1

LOCK BOLT,M8 x 20mm

BOLT special, 8 x 20 mm

6шт.

2

190463A1

WASHER

flat

2шт.

3

190488A1

LEVER

brake, 70 mm

2шт.

4

190476A1

SPRING

right hand, shown

1шт.

4

190477A1

SPRING

left hand, not shown

1шт.

5

190487A1

SHAFT

brake control, when stock is depleted, order P/N 279645A1 kit and 256483A1 shaft for service

2шт.

For the above three axle assemblies, when stock of Ref. 5, 13, 13 and 14 the service parts are exhausted, order 279645A1 parking brake kit.

1шт.

6

139111A1

SPLIT PIN/SAFETY PIN

PIN roll, 6 x 20 mm, used with P/N 190487A1 shaft, if used

2шт.

7

E135810

VENTING SCREW

PLUG brake bleeder, brake housing

2шт.

8

190473A1

SPRING

cam

2шт.

9

190456A1

CAM

brake

2шт.

10

181250A1

CONNECTION,ELECTRIC

SWITCH brake, if used

2шт.

11

211-1008

BALL,1/4" Dia

chrome alloy steel, 1/4 inch, grade 24

4шт.

12

190448A1

O-RING

special

2шт.

13

190465A1

SUPPORT

BRACKET left-hand brake cylinder, shown, when stock is depleted, order P/N 279645A1 kit for service

1шт.

For the above three axle assemblies, when stock of Ref. 5, 13, 13 and 14 the service parts are exhausted, order 279645A1 parking brake kit.

1шт.

13

190466A1

SUPPORT

BRACKET right-hand brake cylinder, not shown, when stock is depleted, order P/N 279645A1 kit for service

1шт.

For the above three axle assemblies, when stock of Ref. 5, 13, 13 and 14 the service parts are exhausted, order 279645A1 parking brake kit.

1шт.

14

196086A1

SPACER

brake lever to shaft, when stock is depleted, order P/N 279645A1 kit for service

2шт.

For the above three axle assemblies, when stock of Ref. 5, 13, 13 and 14 the service parts are exhausted, order 279645A1 parking brake kit.

1шт.

15

196088A1

COPPER WASHER

WASHER sealing, copper, .5 mm thick, used as a shim

1шт.

16

P2434552

JAM NUT

hex, jam, 8 mm - 1 fine

2шт.

279645A1

PACKAGE, REPAIR

KIT parking brake, external adjustment parts, with instructions, and Ref. 5, 13 and 14, Includes: Ref. 17 - 25

1шт.

17

190451A1

LOCK BOLT,M8 x 20mm

BOLT special, 8 x 20 mm

6шт.

18

190476A1

SPRING

left-hand, shown

1шт.

18

190477A1

SPRING

right-hand, not shown

1шт.

19

256482A1

SHIM

bushing

2шт.

20

256481A1

SPACER

BUSHING shaft

2шт.

21

259254A1

RETAINER

left-hand, shown

1шт.

21

280443A1

RETAINER

right-hand, not shown

1шт.

22

256478A1

SUPPORT

BRACKET stop

2шт.

23

190448A1

O-RING

special, shaft

2шт.

24

280848A1

BOLT

BOLT special, 8 x 10 mm

2шт.

25

181104A1

COPPER WASHER

WASHER sealing, copper

2шт.

281952A1

KIT

switch, park brake, Includes: Ref. 26 - 29

2шт.

26

280450A1

PARK BRAKE SWITCH

SWITCH brake, has a pig tail on switch

1шт.

27

280452A1

BRACKET

switch guard, lever

1шт.

28

281960A1

NUT

special, 16 mm - 1.5

1шт.

29

280457A1

LEVER

SLEEVE switch

1шт.

Выбрано товаров: 45