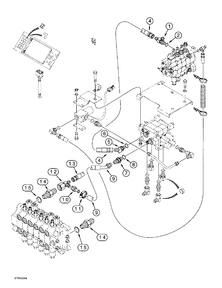
Запчасти Case 580L (8-040) - BASIC AUXILLARY HYDRAULICS, MODELS WITH OR WITHOUT EXTENDABLE DIPPER, *ALTERNATE CONFIGURATION (08) - HYDRAULICS

Схема запчастей Case 580L - (8-040) - BASIC AUXILLARY HYDRAULICS, MODELS WITH OR WITHOUT EXTENDABLE DIPPER, *ALTERNATE CONFIGURATION (08) - HYDRAULICS
5
14
9
7
15
4
8
15
9
4
13
10
6
14
1
2
11
12
FIT
1:1
100%

Артикул

Название

Примечание

Количество

1

218-5241

TEE,7/8" - 14 Male JIC x 7/8" - 14 Male JIC x 7/8" - 14 Male ORB

7/8-14 inch flare branch x flare x adjusting O-ring boss, at loader valve inlet section lower port, see Figure 5-004 for attaching steering hose, for 45° elbow used with this tee on models with ride control see Figure 8-056, Includes: Ref. 2

1шт.

2

237-6010

O-RING,0.097" Thk x 0.755" ID, -910, Cl 6, 90 Duro

10-1, 90 Duro, .755" ID x .097" Thk

1шт.

4

188126A1

HOSE

1650 mm/65 inch long, loader valve inlet section lower port to auxiliary valve inlet port

1шт.

5

218-5149

ELBOW,45 Degree Elbow, 7/8" - 14 Male JIC x 1-1/16" - 12 Male ORB

45º, 7/8"-14 flare x 1-1/16"-12 adjusting O-ring, auxiliary valve inlet, Incl. Ref 6

1шт.

6

237-6012

O-RING,0.116" Thk x 0.924" ID, -912, Cl 6, 90 Duro

12-1, 90 Duro, .924 ID x .116" Thk

1шт.

7

218-5064

HYD CONNECTOR,1-1/16" - 12 Male JIC x 1-1/16" - 12 Male ORB

ADAPTER straight, 1-1/16-12 inch flare x O-ring boss, outlet port at auxiliary valve, Incl. Ref. 8

1шт.

8

237-6012

O-RING,0.116" Thk x 0.924" ID, -912, Cl 6, 90 Duro

12-1, 90 Duro, .924 ID x .116" Thk

1шт.

9

221378A1

HOSE ASSY.

HOSE, 400 mm/15-3/4 inch long, auxiliary valve outlet port to tee at backhoe control valve outlet section port

1шт.

10

221379A1

TUBE,19.05 mm OD

at backhoe valve outlet section tee

1шт.

11

214-1416

HOSE CLAMP,#16, 0.81" - 1.5", Type F Worm

CLAMP, HOSE, , Adj., Tube to hose #16, 0.81/1.50 Type F Worm

1шт.

12

218-5216

TEE,37 Degree, 1 1/16"-12x1 1/16"-12, Fem Sw Runx1 1/16"-12

1-1/16-12 flare branch x 1-5/16-12 inch flare x swivel, at backhoe valve outlet section, between hose to hydraulic oil filter and P/N 218-5069 adapter, see Figure 8-008 for hose and fittings to hydraulic oil filter

1шт.

13

144229A1

HOSE

775 mm/30-1/2 inch long, return, backhoe control valve to filter, see Figure 8-008 for adapter

1шт.

14

218-5069

HYD CONNECTOR,1-5/16" - 12 Male JIC x 1-5/16" - 12 Male ORB

Adapter straight, 1-5/16-12 inch flare x O-ring boss

2шт.

15

237-6016

O-RING,0.116" Thk x 1.171" ID, -916, Cl 6, 90 Duro

16-1, 90 Duro, 1.171" ID x .118" Thk

1шт.

Выбрано товаров: 14