Запчасти Case 580L (8-064) - LOADER CONTROL VALVE, INLET SECTION - WITH STEERING RELIEF VALVE (08) - HYDRAULICS

Схема запчастей Case 580L - (8-064) - LOADER CONTROL VALVE, INLET SECTION - WITH STEERING RELIEF VALVE (08) - HYDRAULICS
8
4
1
15
18
5a
10
13
6
9
7
16
11
17
5
2
12
14
3
FIT
1:1
100%

Артикул

Название

Примечание

Количество

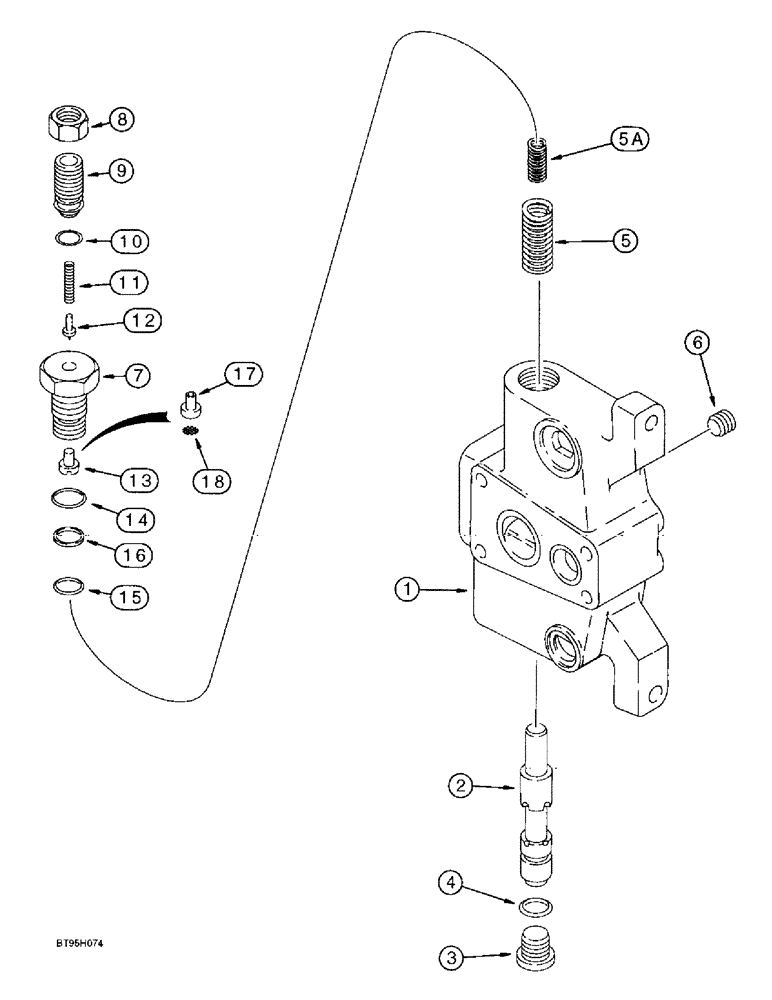
121736A2

VALVE SECTION

SECTION ASSEMBLY inlet, with pilot relief valve, Replaces: 121736A1section, Includes: Ref. 1-18

1шт.

1

NSS

NOT SOLD SEPARAT

HOUSING inlet section

1шт.

2

NSS

NOT SOLD SEPARAT

SPOOL inlet section

1шт.

3

86625138

PLUG,7/18" - 14

Includes Ref. 4 Hex Soc, 7/8"-14 ORB

1шт.

4

237-6010

O-RING,0.097" Thk x 0.755" ID, -910, Cl 6, 90 Duro

10-1, 90 Duro, .755" ID x .097" Thk

1шт.

5

122140A1

SPRING,Compression, 21mm OD x 55.18mm L

outer

1шт.

5a

122141A1

SPRING,Compression, 12.75mm OD x 50.82mm L

inner

1шт.

6

114903A1

PLUG

orifice, steering port

1шт.

130060A1

VALVE

ASSEMBLY relief, pilot, without screen filter, 121736A1section assembly, no longer available, order 130060A2 relief valve

1шт.

130060A2

PILOT VALVE

VALVE ASSEMBLY relief, pilot, with screen filter, Ref. 18, 121736A2 section assembly, Includes: Ref. 7-18

1шт.

7

G108866

HOUSING,1-1/16" - 12

BODY pilot relief, valve

1шт.

8

425-1510

JAM NUT,Jam, 5/8"-18, G5

- hex, jam, 5/8 inch NF

1шт.

9

G108867

PLUG

adjusting, relief valve

1шт.

10

238-6012

O-RING,0.07" Thk x 0.364" ID, -12, Cl 6, 90 Duro

1шт.

11

130059A1

SPRING

pilot relief

1шт.

12

G108556

VALVE POPPET

POPPET relief, pilot

1шт.

13

G108869

SEAT

poppet, 130060A1 relief valve

1шт.

14

237-6012

O-RING,0.116" Thk x 0.924" ID, -912, Cl 6, 90 Duro

12-1, 90 Duro, .924 ID x .116" Thk, Housing

1шт.

15

238-6018

O-RING,0.07" Thk x 0.739" ID, -18, Cl 6, 90 Duro

Housing -018, 90 Duro, .739" ID x .070" Thk

1шт.

16

G35540

BACK-UP RING,19.43mm ID x 22.23mm OD x 1.32mm Thk

backup, small O-ring, housing

1шт.

17

196095A1

SEAT

poppet, relief valve, used with Ref. 18 screen filter in 130060A2 relief valve

1шт.

18

196096A1

SCREEN

relief valve, filter, 130060A2 relief valve

1шт.

Выбрано товаров: 22