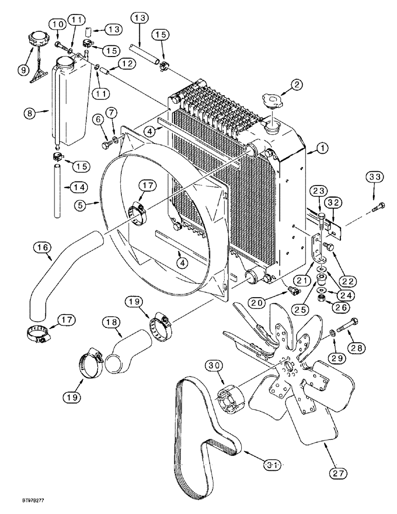
Запчасти Case 580L (2-002) - RADIATOR, FAN AND MOUNTING PARTS, USED WITH 139783A1, 231280A1 OR 233817A1 OIL COOLER, FIGURE 6-021 (02) - ENGINE

Схема запчастей Case 580L - (2-002) - RADIATOR, FAN AND MOUNTING PARTS, USED WITH 139783A1, 231280A1 OR 233817A1 OIL COOLER, FIGURE 6-021 (02) - ENGINE
4
12
22
13
27
33
15
25
15
30
19
19
2
4
18
5
29
24
11
1
20
9
14
15
17
23
28
10
32
11
26
8
17
16
21
13
6
7
31
FIT
1:1
100%

Артикул

Название

Примечание

Количество

1

234876A1

RADIATOR

ASSEMBLY, engine coolant, see Figure 2-004, Replaces: P/N 129264A1 cooler, used with P/N's 139783A1, 231280A1 or 233817A1 oil cooler, see Figure 6-020 for cooler and baffles, Includes: Ref. 1

1шт.

2

A170241

RADIATOR CAP

CAP, RADIATOR, Filler, 15 psi

1шт.

4

233272A1

SEALING STRIP,20mm W x 404mm L x 6mm Thk

adhesive-backed, 6/1/4 x 20/25/32 x 404 mm/15-29/32 inch long, radiator to shroud, upper and lower, Replaces: P/N 140825A1 seal

2шт.

5

186433A1

SHROUD

fan

1шт.

6

806-8016

BOLT,Hex, M8 x 1.25 x 16mm, Cl 10.9

hex, self-locking, 8-1.25 x 16 mm, class 10.9

4шт.

7

895-15008

WASHER,9mm ID x 20mm OD x 1.6mm Thk

4шт.

8

131084A1

RESERVOIR

coolant recovery bottle, Includes: Ref. 9

1шт.

9

1547924C1

CAP

screw-on

1шт.

10

806-8050

BOLT,Hex, M8 x 1.25 x 50mm, Cl 10.9

hex, self-locking, 8-1.25 x 50 mm, class 10.9

2шт.

11

895-11008

WASHER,9mm ID x 16mm OD x 1.6mm Thk

flat, 9 x 17 x 1.6 mm

4шт.

12

132215A1

SPACER

bottle

2шт.

13

132218A1

HOSE

591 mm /23-1/4 inch long, coolant recovery, cut from P/N L126767 hose

1шт.

14

132217A1

HOSE

125 mm/4-15/16 inch long, coolant overflow

1шт.

15

A171099

HOSE CLAMP,13.2mm - 15.4mm

CLAMP spring-type, hose, retaining

3шт.

16

141512A1

RADIATOR HOSE,45.00 mm ID x 270.00 mm, SAE 20 R4

Upper 45.00 mm ID x 270.00 mm, SAE 20 R4

1шт.

17

214-1432

HOSE CLAMP,#32, 1.56" - 2.5", Type F Worm

CLAMP, HOSE, , Adjustable #32, 1.56/2.50 Type F Worm

2шт.

18

141513A1

RADIATOR HOSE,58.00 mm ID x 212.00, SAE 20 R4

Lower 58.00 mm ID x 212.00, SAE 20 R4

1шт.

19

214-1440

HOSE CLAMP,#40, 2.06" - 3", Type F Worm

CLAMP adjusting, 2-1/16 - 3 inch diameter

2шт.

20

217-92

COCK

VALVE drain, 1/4 inch PT

1шт.

21

121501A1

SUPPORT

BRACKET radiator mounting, lower, see Figure 9-082 for upper bracket that attaches to the radiator shroud

2шт.

21

121501A1

SUPPORT

BRACKET radiator mounting, lower, see Figure 9-082 for upper bracket that attaches to the radiator shroud

2шт.

22

614-8016

BOLT,Hex, M8 x 1.25 x 16mm, Cl 8.8, Full Thd

hex, full threads, 8-1.25 x 16 mm

4шт.

23

814-10050

BOLT,Hex, M10 x 1.5 x 50mm, Cl 8.8

2шт.

24

K691987

WASHER,10.5mm ID x 30mm OD x 3.0mm Thk

flat, special

4шт.

25

D52276

ISOLATOR,10.16mm ID x 28.07mm OD x mm L

INSULATOR rubber, mount, radiator

2шт.

26

832-10410

NUT,M10 x 1.5, Cl 8

NUT, LOCK, M10 x 1.5, Cl 8

2шт.

27

127181A1

FAN

engine cooling, with orange identification dot, Replaces: P/N 185377A1 fan used on some models

1шт.

28

814-10070

BOLT,Hex, M10 x 1.5 x 70mm, Cl 8.8

hex, 10-1.5 x 70 mm

4шт.

29

496-21041

WASHER,13/32" x 13/16" x .089", HDN

- flat, 13/32 x 13/16 x 3/32", hardened

4шт.

30

A184545

SPACER

fan

1шт.

31

J921603

V-BELT,3.56 mm W x 1485.90 mm L, 8 Ribs

Fan, Alternator and Fan, See Figure 9-158 for Belt Used on Air Conditioning Compressor 3.56 mm W x 1485.90 mm L, 8 Ribs

1шт.

32

185384A1

LARGE PLATE

PLATE anti-recirculation

1шт.

33

614-8016

BOLT,Hex, M8 x 1.25 x 16mm, Cl 8.8, Full Thd

hex, full threads, 8-1.25 x 16 mm

2шт.

34

232442A1

PLATE

backup, if used

1шт.

35

233312A1

SEAL

foam, adhesive-backed, 20/25/32 x 504/19-27/32 x 3 mm/1/8 inch, backup plate to cooler, if used

1шт.

36

233286A1

SEAL

foam, adhesive-backed, 20/25/32 x 504/19-27/32 x 10 mm/(3/8 inch, radiator, if used

1шт.

L126767

HOSE,7.9mm ID x 2336mm L, SAE 30R6

1шт.

Выбрано товаров: 37