Запчасти Case 580L (2-010) - MUFFLER AND EXHAUST SYSTEM, MODELS WITH TURBOCHARGED ENGINE (02) - ENGINE

Схема запчастей Case 580L - (2-010) - MUFFLER AND EXHAUST SYSTEM, MODELS WITH TURBOCHARGED ENGINE (02) - ENGINE
9
5
6
8
10
6
8
1
1a
8
3
4
8
2
8
FIT
1:1
100%

Артикул

Название

Примечание

Количество

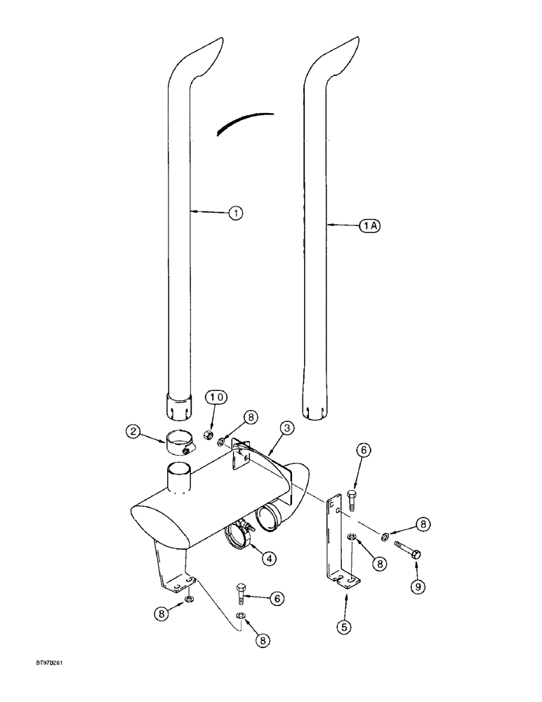
1

192704A1

PIPE, EXHAUST SYSTEM

PIPE exhaust, muffler extension, no longer available, order P/N 275967A1 pipe, Ref. 1A

1шт.

1a

275967A1

PIPE, EXHAUST SYSTEM

PIPE exhaust, muffler extension

1шт.

2

176437A1

CLAMP,63.5mm - mm

exhaust pipe to muffler, includes hardware

1шт.

3

192483A1

MUFFLER,W/ Spark Arrester

engine exhaust

1шт.

4

A170467

CLAMP,72mm ID

muffler tube to engine, includes hardware

1шт.

5

187021A1

SUPPORT

BRACKET muffler, front

1шт.

8

896-11010

WASHER,11mm ID x 21mm OD x 2.5mm Thk

10шт.

10

829-1410

NUT,M10 x 1.5, Cl 10.9

2шт.

6

627-10030

BOLT,Hex, M10 x 1.5 x 30mm, Cl 10.9, Full Thd

4шт.

9

627-10030

BOLT,Hex, M10 x 1.5 x 30mm, Cl 10.9, Full Thd

2шт.

Выбрано товаров: 10