Запчасти Case 580L (2-041A) - CYLINDER BLOCK, 4T-390 ENGINE (02) - ENGINE

Схема запчастей Case 580L - (2-041A) - CYLINDER BLOCK, 4T-390 ENGINE (02) - ENGINE
23
27
38
7
12
26
37
4
32
6a
22
30
10
35
3
18
33
28
15
7
20
6
34
9
39
40
12a
24
21
11
6
7
6
2
36
1
19
16
13
16a
29
31
17
8
5
14
25
FIT
1:1
100%

Артикул

Название

Примечание

Количество

181432A2

ENGINE ASSEMBLY

ENGINE ASSY ENGINE ASSEMBLY, complete, 4T-390, includes all parts except starter, alternator, fan, fan belt, air cleaner, muffler and exhaust pipe, for service order basic engine

1шт.

For correct engine identification make sure that engine P/N 181432A2 is stamped on the engine serial number tag.

1шт.

1989092C3

BASIC ENGINE

Includes all parts except starter, alternator, fan, fan belt, air cleaner, muffler, exhaust manifold, flywheel and housing, oil fill and dipstick, fuel injection pump, injectors and lines, front pulley, belt tensioner, turbocharger assembly; See Note

1шт.

1989092C3R

REMAN-BASIC ENGINE

1шт.

1989092C3C

CORE-BASIC ENGINE

Return Part Number

1шт.

JR933236

REMAN-SHORT ENGINE

Block Assembly, short, remanufactured, component parts on this page do not apply to the remanufactured assembly

1шт.

AC77758

CORE-ENGINE

Return Part Number, use this part number to return short block core for credit when using a remanufactured assembly

1шт.

J933236

SHORT ENGINE

BLOCK ASSEMBLY, short, new, includes stripped block, pistons, connecting rods and bearings, crankshaft and bearings, Includes: Ref. 1 - 8

1шт.

Order P/N J933220 hardware kit and 250838A2 connector when ordering J933236 block assembly. 250838A2 connector is used for adapting the old oil pressure sender to the new cylinder block. See Figure 4-010 for 250838A2 connector.

1шт.

JR933236

REMAN-SHORT ENGINE

1шт.

JC933236

CORE-SHORT ENGINE

Return Part Number

1шт.

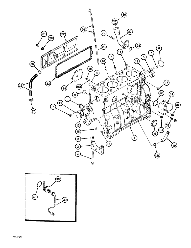
1

87444172

BLOCK ASSY.

BLOCK ASSEMBLY, stripped, engine, Includes: Ref. 2 - 8

1шт.

Order P/N J933220 hardware kit and 250838A2 connector when ordering J933236 block assembly. 250838A2 connector is used for adapting the old oil pressure sender to the new cylinder block. See Figure 4-010 for 250838A2 connector.

1шт.

2

J900967

BEARING CAP

CAP main bearing

5шт.

3

J900068

BEARING WASHER

RING dowel, 18 mm OD, main bearing, Serial Range: cap-block

10шт.

4

J927948

BOLT,Flng, MJ12 x 1.5H6H x 119mm, Cl 12.9

SCREW, , Main bearing cap, Special Hex Flg Hd, M12 x 1.5 x 119

10шт.

5

REF

INSTRUCTION

BUSHING camshaft front, see Figure 2-036, Ref. 2

1шт.

6

A77782

PLUG

PLUG expansion, 58 mm OD

1шт.

6a

A77505

PLUG

PLUG hex socket, 3/4 inch PT

1шт.

7

J900956

PLUG

PLUG expansion, 18 mm OD

3шт.

8

41-1616

PLUG,Cup, 1", Stainless

PLUG, , Expansion Cup, 1", Stainless

2шт.

J933220

PACKAGE,SERVICE

KIT block hardware, Includes: Ref. 9 - 18

1шт.

Order P/N J933220 hardware kit and 250838A2 connector when ordering J933236 block assembly. 250838A2 connector is used for adapting the old oil pressure sender to the new cylinder block. See Figure 4-010 for 250838A2 connector.

1шт.

9

J900958

PLUG

PLUG expansion, 32 mm OD

2шт.

10

J900955

PLUG

PLUG expansion, 10 mm OD

1шт.

11

172599

PLUG,Exp, 2 3/8"

PLUG expansion, Welch, 60 mm OD

1шт.

12

J926047

O-RING,0.07" Thk x 2.239" ID

O-RING sealing, 57 mm ID

1шт.

12a

J920706

PLUG

PLUG expansion, 22 mm OD, not used in this application, P/N J903744 turbocharger oil drain tube is installed in this port

1шт.

13

J900257

PIN,10.01mm OD x 16mm L

PIN dowel, 16 mm long, locating

2шт.

14

J902343

DOWEL

RING dowel, 16 mm OD

2шт.

15

J900068

BEARING WASHER

RING dowel, 18 mm OD

2шт.

16

233426A1

PLUG,M10 x 1 ORB

PLUG hex, 10 mm, Inludes: Ref. 16A

2шт.

16a

637-62081

O-RING,1.6mm Thk x 8.1mm ID, Cl 6, 90 Duro

O-RING plug

1шт.

17

A77429

PLUG

PLUG hex socket, 1/2 inch PT

1шт.

18

J930139

NOZZLE CAP

NOZZLE piston cooling

4шт.

19

J903744

PIPE FITTING,22.42 mm ID x 28 mm OD x 90.2, 64 mm L

TUBE turbocharger oil drain

1шт.

20

J928759

SEALING WASHER

SEAL cover bolt

4шт.

21

845-8020

BOLT,Hvy Hex, M8 x 20mm, Cl 8.8

BOLT - heavy hex flange, 8-1.25 x 20 mm

2шт.

22

J925680

COVER

COVER tappet

1шт.

23

J928831

GASKET

GASKET tappet cover

1шт.

24

J907586

BAFFLE

BAFFLE tappet cover

1шт.

25

J905779

TUBE,9.52 mm OD x 228 mm L

TUBE dipstick

1шт.

26

J905781

DIPSTICK

DIPSTICK oil level gauge

1шт.

27

J905440

TUBE

TUBE oil fill

1шт.

28

J906696

SEAL,41mm ID x 43mm OD x 2.5mm H

O-RING, 38 mm/1-1/2 inch ID

1шт.

29

854-12025

BOLT,Hvy Hex, M12 x 25mm, Cl 10.9

BOLT heavy hex flange, 12-1.75 x 25 mm, class 10.9

2шт.

30

A77424

FILLER CAP

CAP oil fill tube

1шт.

31

J903102

CONNECTION

CONNECTION water inlet

1шт.

32

J906697

SEAL,Square, 5.16mm Thk x 50.17mm ID

O-RING sealing, 50 mm ID

1шт.

33

854-10075

BOLT,Hvy Hex, M10 x 75mm, Cl 10.9

BOLT heavy hex flange, 10-1.5 x 75 mm, class 10.9

3шт.

34

A77429

PLUG

PLUG hex socket, 1/2 inch PT

2шт.

35

J918612

TUBE,360.00 mm

Breather

1шт.

36

J904230

CLAMP,25.4mm

CLAMP spring, hose

1шт.

37

J909670

CLIP

CLIP retaining

1шт.

196803A1

KIT

KIT engine block heater, Inlcudes: Ref. 38 - 40

1шт.

38

NSS

NOT SOLD SEPARAT

ELEMENT engine heater, 120 volt, block

1шт.

39

196466A1

ELECTRIC CABLE

CABLE engine, block heater

1шт.

40

J910517

O-RING

O-RING heater sealing, engine block

1шт.

Выбрано товаров: 58