Запчасти Case 580L (8-024) - BACKHOE BOOM CYLINDER HYDRAULIC CIRCUIT (08) - HYDRAULICS

Схема запчастей Case 580L - (8-024) - BACKHOE BOOM CYLINDER HYDRAULIC CIRCUIT (08) - HYDRAULICS
33
25
2
9
4
12
10
11
12
14
30
33
3
16
8
28
11
23
15
1
18
9
29
8
13
5
20
19
7
27
24
21
32
6
31
22
18
26
FIT
1:1
100%

Артикул

Название

Примечание

Количество

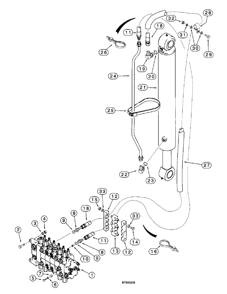
1

REF

INSTRUCTION

VALVE ASSEMBLY, backhoe control, for correct assembly and components, see Figure 8-86 - 8-93A

1шт.

2

814-12045

BOLT,Hex, M12 x 1.75 x 45mm, Cl 8.8

hex, 12 - 1.75 x 45 mm

2шт.

3

896-11012

WASHER,13.5mm ID x 24mm OD x 3mm Thk

2шт.

4

829-1412

NUT,M12, Cl 10.9

hex, 12 mm - 1.75, class 10

2шт.

5

413-624

BOLT,Hex, 3/8" - 16 x 1-1/2", Gr 5

hex, 3/8 NC x 1-1/2 inch

1шт.

6

D52275

WASHER,9.92mm ID x 31.75mm OD x 2.78mm Thk

flat, special, hardened, 25/64 x 1-1/4 x 7/64 inch

1шт.

7

D52276

ISOLATOR,10.16mm ID x 28.07mm OD x mm L

INSULATOR rubber

1шт.

8

218-5063

HYD CONNECTOR,7/8" - 14 Male JIC x 1-1/16" - 12 Male ORB

ADAPTER straight, boom section upper and lower ports, 7/8-14 flare x 1-1/16-12 inch O-ring boss, Includes: Ref. 9

2шт.

9

237-6012

O-RING,0.116" Thk x 0.924" ID, -912, Cl 6, 90 Duro

12-1, 90 Duro, .924 ID x .116" Thk

1шт.

10

D140183

RESTRICTOR

check, boom section lower port, remove restrictor if equipped with boom lock valve circuit, if used

1шт.

11

227504A1

HOSE,12.7mm ID x 3470mm L

control valve through swing tower to boom, 3470 mm, 136-5/8 inch long, Includes: hose guard and clamp

1шт.

12

178951A1

CLAMP

hose, outer

2шт.

13

178952A1

CLAMP

hose, center

1шт.

14

814-10120

BOLT,Hex, M10 x 1.5 x 120mm, Cl 8.8

hex, 10 - 1.5 x 120 mm

3шт.

15

832-10410

NUT,M10 x 1.5, Cl 8

NUT, LOCK, M10 x 1.5, Cl 8

3шт.

16

L18337

CABLE TIE,9.95"-12.1" lg

STRAP tie, nylon, retaining, 15 inch

4шт.

18

227507A1

HOSE,15.88mm ID x 3495mm L

boom cylinder closed end, 3495 mm, 137-5/8 inch long, Includes: hose guard and clamp

1шт.

19

218-5107

90 ELBOW,90 Degree Elbow, 7/8" - 14 Male JIC x 7/8" - 14 Male ORB

90 degree, boom cylinder closed end, 7/8-14 inch flare x adj. O-ring boss, for models with boom lock valve, see Figure 8-54, Incl. Ref. 20

1шт.

20

237-6010

O-RING,0.097" Thk x 0.755" ID, -910, Cl 6, 90 Duro

10-1, 90 Duro, .755" ID x .097" Thk

1шт.

21

189653A1

CYLINDER ASSY.

CYLINDER ASSEMBLY, boom, 114, 4-1/2 ID x 981 mm, 38-5/8 inch stroke, parts list Figure 8-148

1шт.

21

189653A2R

REMAN-HYD CYLINDER

Reman for New PN 189653A1

1шт.

21

189653A2C

CORE-HYD CYLINDER

Return Number

1шт.

22

218-5123

ELBOW,90 Degree Elbow, 1-1/16" - 12 Male JIC x 7/8" - 14 Male ORB

90 degree, boom cylinder rod end, 1-1/16-12 flare x 7/8-14 inch adj. O-ring boss, Includes: Ref. 23

1шт.

23

237-6010

O-RING,0.097" Thk x 0.755" ID, -910, Cl 6, 90 Duro

10-1, 90 Duro, .755" ID x .097" Thk

1шт.

24

187778A1

TUBE,19.05 mm OD, 1035 mm Length

boom cylinder rod end

1шт.

25

214-1488

HOSE CLAMP,130.05mm - 152.4mm

CLAMP, HOSE, , Adj., Tube to cylinder #88, 5.12/6.00 Type F Worm

2шт.

26

L18337

CABLE TIE,9.95"-12.1" lg

STRAP tie, nylon retaining, 15 inch

4шт.

27

224057A1

SLEEVE

1000 mm, 39-3/8 inch long

2шт.

28

515-23254

CLAMP,1", Insul, 3/8" Bolt

P-type 1", Insul, 3/8" Bolt

1-2шт.

28

R24840

CLAMP,1.12", Coat, 0.41" Bolt Hole, P Type

P-type, 1-1/8 inch ID, 5/8 inch hose

1шт.

29

614-10035

BOLT,Hex, M10 x 1.5 x 35mm, Cl 8.8, Full Thd

2шт.

31

892-11010

LOCK WASHER,M10

2шт.

32

829-1410

NUT,M10 x 1.5, Cl 10.9

2шт.

30

895-11010

WASHER,11mm ID x 20mm OD x 2mm Thk

flat, 11 x 20 x 2 mm

2-4шт.

33

895-11010

WASHER,11mm ID x 20mm OD x 2mm Thk

flat, 11 x 20 x 2 mm

6шт.

Выбрано товаров: 35