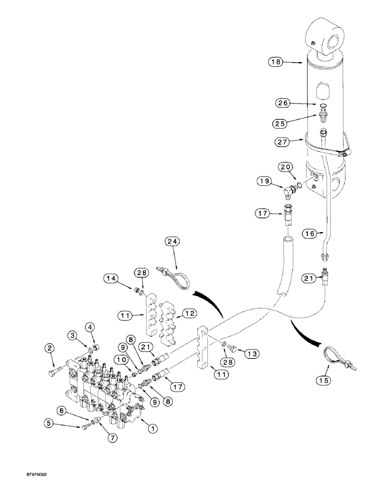
Запчасти Case 580L (8-026) - BACKHOE DIPPER CYLINDER HYDRAULIC CIRCUIT (08) - HYDRAULICS

Схема запчастей Case 580L - (8-026) - BACKHOE DIPPER CYLINDER HYDRAULIC CIRCUIT (08) - HYDRAULICS
8
12
11
1
11
20
16
5
26
9
28
9
6
17
17
21
7
15
18
19
27
8
4
13
14
3
21
25
28
10
2
24
FIT
1:1
100%

Артикул

Название

Примечание

Количество

1

REF

INSTRUCTION

VALVE ASSEMBLY, backhoe control, for correct assembly and components, see Figure 8-86 - 8-93A

1шт.

2

814-12045

BOLT,Hex, M12 x 1.75 x 45mm, Cl 8.8

hex, 12 - 1.75 x 45 mm

2шт.

3

896-11012

WASHER,13.5mm ID x 24mm OD x 3mm Thk

2шт.

4

829-1412

NUT,M12, Cl 10.9

hex, 12 mm - 1.75, class 10

2шт.

5

413-624

BOLT,Hex, 3/8" - 16 x 1-1/2", Gr 5

hex, 3/8 NC x 1-1/2 inch

1шт.

6

D52275

WASHER,9.92mm ID x 31.75mm OD x 2.78mm Thk

flat, special, hardened, 25/64 x 1-1/4 x 7/64 inch

1шт.

7

D52276

ISOLATOR,10.16mm ID x 28.07mm OD x mm L

INSULATOR rubber

1шт.

8

218-5063

HYD CONNECTOR,7/8" - 14 Male JIC x 1-1/16" - 12 Male ORB

ADAPTER straight, dipper section upper and lower ports, 7/8-14 flare x 1-1/16-12 inch O-ring boss, Includes: Ref. 9

2шт.

9

237-6012

O-RING,0.116" Thk x 0.924" ID, -912, Cl 6, 90 Duro

12-1, 90 Duro, .924 ID x .116" Thk

1шт.

10

184254A1

ORIFICE

RESTRICTOR check, dipper section upper port

1шт.

11

178951A1

CLAMP

hose, outer

2шт.

12

178952A1

CLAMP

hose, center

1шт.

13

814-10120

BOLT,Hex, M10 x 1.5 x 120mm, Cl 8.8

hex, 10 - 1.5 x 120 mm

3шт.

14

832-10410

NUT,M10 x 1.5, Cl 8

NUT, LOCK, M10 x 1.5, Cl 8

3шт.

15

L18337

CABLE TIE,9.95"-12.1" lg

STRAP tie, nylon, retaining, 15 inch

4шт.

16

185497A1

HYD TUBE,19.05 mm OD, 770, 33 mm Length

TUBE to dipper cylinder rod end

1шт.

17

227514A1

HOSE,12.7mm ID x 2025mm L

dipper cylinder closed end, 2025 mm, 79-3/4 inch long, Includes: hose guard and clamp

1шт.

18

REF

INSTRUCTION

CYLINDER ASSEMBLY, dipper, 108, 4-1/4 ID x 686 mm, 27 inch stroker, parts list Figure 8-150

1шт.

19

218-5107

90 ELBOW,90 Degree Elbow, 7/8" - 14 Male JIC x 7/8" - 14 Male ORB

90 degree, 7/8-14 inch flare x adj. O-ring boss, Incl. 20

1шт.

20

237-6010

O-RING,0.097" Thk x 0.755" ID, -910, Cl 6, 90 Duro

10-1, 90 Duro, .755" ID x .097" Thk

1шт.

21

227513A1

HOSE,12.7mm ID x 2025mm L

dipper cylinder rod end, 2025 mm, 79-3/4 inch long, Includes: hose guard and clamp

1шт.

24

L18337

CABLE TIE,9.95"-12.1" lg

STRAP tie, nylon, retaining, 15 inch

2-4шт.

25

218-5065

HYD CONNECTOR,1-1/16" - 12 Male JIC x 7/8" - 14 Male ORB

ADAPTER straight, 1-1/16-12 flare x 7/8-14 inch O-ring boss, Includes: Ref. 26

1шт.

26

237-6010

O-RING,0.097" Thk x 0.755" ID, -910, Cl 6, 90 Duro

10-1, 90 Duro, .755" ID x .097" Thk

1шт.

27

214-1488

HOSE CLAMP,130.05mm - 152.4mm

CLAMP, HOSE, , Adj. #88, 5.12/6.00 Type F Worm

1шт.

28

895-11010

WASHER,11mm ID x 20mm OD x 2mm Thk

flat, 11 x 20 x 2 mm

6шт.

Выбрано товаров: 26