Запчасти Case 580L (8-118) - BOOM LOCK SOLENOID VALVE (08) - HYDRAULICS

Схема запчастей Case 580L - (8-118) - BOOM LOCK SOLENOID VALVE (08) - HYDRAULICS
15
7
9
6
13
5
8
14
12
11
4
2
1
10
3
FIT
1:1
100%

Артикул

Название

Примечание

Количество

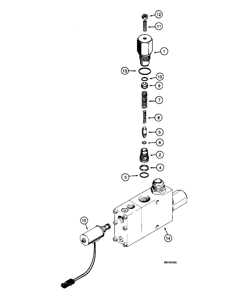
189957A1

VALVE

ASSEMBLY, solenoid, backhoe boom lock, Includes: two of 321-6046 warning decals, see Figure 9-112 for decal, Includes: Ref. 14-15, and P/N's G110467, D150781

1шт.

G110467

VALVE, PRESSURE RELI

RELIEF ASSEMBLY, circuit, solenoid, used in productin, order G110077 kit for service, Includes: Ref. 1-13

1шт.

Included w/ SERVICE KIT, P/N G110077

1шт.

The pressure setting of the repair circuit relief valve is not preset for this application. Adjust the setting according to the instructions sent with the repair valve.

1шт.

1

NSS

NOT SOLD SEPARAT

BODY relief valve

1шт.

2

NSS

NOT SOLD SEPARAT

SEAT relief valve

1шт.

3

238-6018

O-RING,0.07" Thk x 0.739" ID, -18, Cl 6, 90 Duro

Relief valve seat -018, 90 Duro, .739" ID x .070" Thk

1шт.

4

G35540

BACK-UP RING,19.43mm ID x 22.23mm OD x 1.32mm Thk

backup, seat O-ring

1шт.

5

NSS

NOT SOLD SEPARAT

POPPET relief valve

1шт.

6

NSS

NOT SOLD SEPARAT

O-RING poppet

1шт.

7

NSS

NOT SOLD SEPARAT

SPRING relief, outer

1шт.

8

NSS

NOT SOLD SEPARAT

SPRING relief, inner

1шт.

9

NSS

NOT SOLD SEPARAT

PISTON relief valve

1шт.

10

NSS

NOT SOLD SEPARAT

Included w/ SEAL KIT, P/N 309787A1

1шт.

11

484-43116

SET SCREW,Hex Soc, 5/16"-24 x 1"

SCREW set, hex socket headless, oval point, 5-16 NF x 1 inch

1шт.

12

425-155

JAM NUT,Jam, 5/16"-24, G5

hex, jam, 5/16 inch NF

1шт.

13

237-6012

O-RING,0.116" Thk x 0.924" ID, -912, Cl 6, 90 Duro

12-1, 90 Duro, .924 ID x .116" Thk

1шт.

14

NSS

NOT SOLD SEPARAT

BODY solenoid

1шт.

15

221168A1

SOLENOID VALVE

SOLENOID relief, with connector, 12 volt

1шт.

D150781

REPAIR KIT

KIT, REPAIR, Incl. (3) springs, (1) ball, (1) poppet, and (1) plug which are not serviced separately and D150810 seal kit,Incl.cludes: P/N D150810

1шт.

D150810

SEAL

KIT seal, Includes: nine O-rings and two backup rings, which are not serviced separately, not shown

1шт.

G110077

KIT

service, for G110467 circuit relief valve, Includes: G110078 circuit relief valve assembly, Ref. 1 - 13, and an instruction sheet, Includes: Ref. G110467

1шт.

The pressure setting of the repair circuit relief valve is not preset for this application. Adjust the setting according to the instructions sent with the repair valve.

1шт.

Выбрано товаров: 23