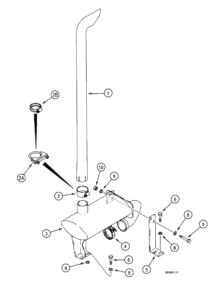
Запчасти Case 580L (2-14) - MUFFLER AND EXHAUST SYSTEM, MODELS WITH TURBOCHARGED ENGINE (02) - ENGINE

Схема запчастей Case 580L - (2-14) - MUFFLER AND EXHAUST SYSTEM, MODELS WITH TURBOCHARGED ENGINE (02) - ENGINE
1
6
8
8
8
6
5
9
2b
10
2a
8
3
2
4
8
FIT
1:1
100%

Артикул

Название

Примечание

Количество

1

275967A2

PIPE, EXHAUST SYSTEM

PIPE exhaust, muffler extension, no longer available, order 330013A1 kit

1шт.

Part of exhaust stack kit 330013A1

1шт.

2

176437A1

CLAMP,63.5mm - mm

includes hardware, if used

1шт.

2a

A13240

CLAMP,2-5/8" ID

two piece, Includes hardware, U-bolt, no longer used, Replaced by 360663A1

1шт.

2b

360663A1

CLAMP,7.06mm

includes hardware, if used

1шт.

Part of exhaust stack kit 330013A1

1шт.

3

227293A1

MUFFLER

engine exhaust

1шт.

4

A170467

CLAMP,72mm ID

muffler tube to engine, Includes hardware

1шт.

5

225033A1

SUPPORT

BRACKET muffler, front

1шт.

8

896-11010

WASHER,11mm ID x 21mm OD x 2.5mm Thk

10шт.

330013A1

PACKAGE

KIT exhaust stack, Includes Ref. 1, 2B and instructions

1шт.

6

627-10030

BOLT,Hex, M10 x 1.5 x 30mm, Cl 10.9, Full Thd

4шт.

9

627-10030

BOLT,Hex, M10 x 1.5 x 30mm, Cl 10.9, Full Thd

2шт.

10

829-1410

NUT,M10 x 1.5, Cl 10.9

2шт.

Выбрано товаров: 14