Запчасти Case 580L (2-16) - MUFFLER AND EXHAUST SYSTEM, MODELS WITHOUT TURBOCHARGED ENGINE (02) - ENGINE

Схема запчастей Case 580L - (2-16) - MUFFLER AND EXHAUST SYSTEM, MODELS WITHOUT TURBOCHARGED ENGINE (02) - ENGINE
2b
7
2a
9
6
3a
11
1
5
5
7
7
7
10
3
4
8
2
FIT
1:1
100%

Артикул

Название

Примечание

Количество

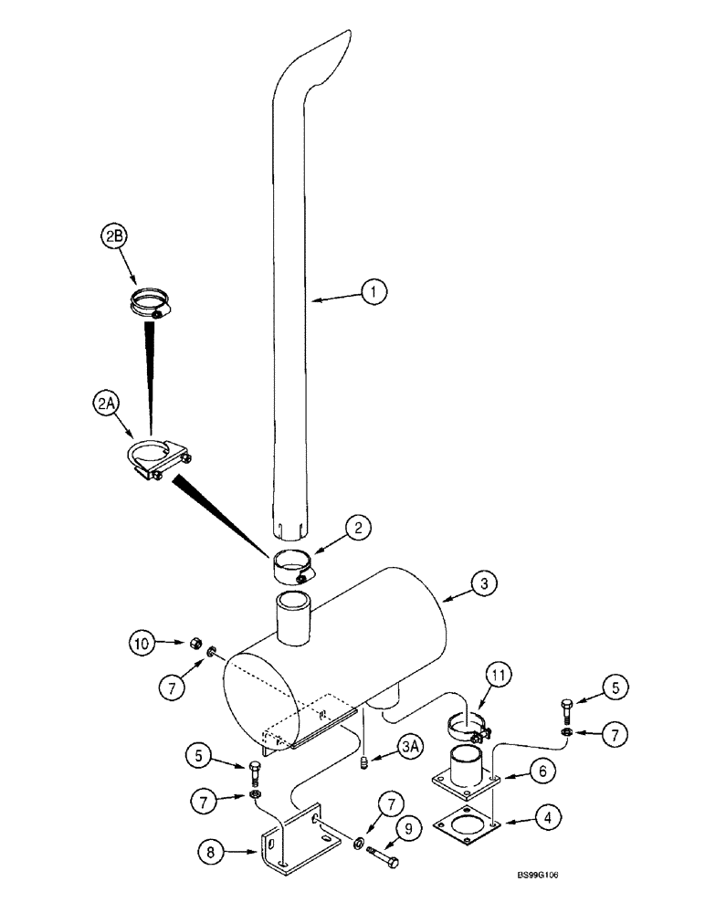
1

275967A2

PIPE, EXHAUST SYSTEM

PIPE exhaust, muffler extension, no longer available, order 330013A1 kit

1шт.

Part of exhaust stack kit 330013A1

1шт.

2

176437A1

CLAMP,63.5mm - mm

includes hardware, if used

1шт.

2a

A13240

CLAMP,2-5/8" ID

two piece, Includes hardware, U-bolt, no longer used, Replaced by 360663A1

1шт.

2b

360663A1

CLAMP,7.06mm

includes hardware, if used

1шт.

Part of exhaust stack kit 330013A1

1шт.

3

192928A1

MUFFLER,W/ Spark Arrester

engine exhaust, spark arrester, Includes Ref. 3A

1шт.

3a

217-77

PLUG

square, 3/8 inch PT, brass

1шт.

4

J912220

GASKET,0.4mm Thk

steel

1шт.

5

614-10025

BOLT,Hex, M10 x 1.5 x 25mm, Cl 8.8

6шт.

6

L129963

ADAPTER

, Serial Range: engine-muffler

1шт.

7

896-11010

WASHER,11mm ID x 21mm OD x 2.5mm Thk

10шт.

8

121421A1

SUPPORT

BRACKET muffler support

1шт.

9

614-10030

BOLT,Hex, M10 x 1.5 x 30mm, Cl 8.8, Full Thd

Full Thd Hex, M10 x 30, 8.8

2шт.

11

176437A1

CLAMP,63.5mm - mm

includes hardware

1шт.

330013A1

PACKAGE

KIT exhaust stack, Includes Ref. 1, 2B and instructions

1шт.

10

829-1410

NUT,M10 x 1.5, Cl 10.9

2шт.

Выбрано товаров: 17