Запчасти Case 580L (9-071) - FLOOR PLATES AND FLOORMATS (09) - CHASSIS/ATTACHMENTS

Схема запчастей Case 580L - (9-071) - FLOOR PLATES AND FLOORMATS (09) - CHASSIS/ATTACHMENTS
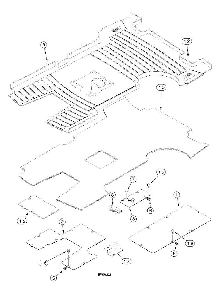
7
12
16
6
9
1
2
10
3
8
15
16
6
16
17
6
FIT
1:1
100%

Артикул

Название

Примечание

Количество

1

234913A1

LARGE PLATE

PLATE floor, front cover

1шт.

2

298449A1

LARGE PLATE

PLATE floor, rear cover

1шт.

3

127377A1

LARGE PLATE

PLATE floor, loader control lever mounting

1шт.

6

833-40406

NUT,M6, U

U-type, 6 mm - 1.0

16-21шт.

7

353-422

PLUG,Dome, 1.250" hole, Nylon

Used on models without clam bucket Dome, 1.250" hole, Nylon

1шт.

8

127378A3

RUBBER INSULATOR

GROMMET rubber, floor

1шт.

9

243122A1

FLOOR MAT

FLOORMAT cab models, waffle backed

1шт.

10

182296A1

PAD

foam, floormat, if used

1шт.

12

280-16516

SELF-TAP SCREW,Hex Wash Hd, #10 x 1"

SCREW self tapping, hex washer head, No. 10 - 16 x 1 inch

4шт.

15

225101A1

CONTACT

PLATE floor, rear cover, 570LXT models

1шт.

16

233724A1

FLANGE BOLT,Hex, M6 x 1 x 25mm

BOLT hex washer, self aligning, 6 - 1.0 x 25 mm

19шт.

17

223199A1

SUPPORT

BRACKET mounting, heater hoses, if used

1шт.

Выбрано товаров: 12