Запчасти Case 590L (8-072) - BACKHOE AUXILIARY HIGH FLOW UPGRADE PARTS, CONTROL CABLES TO AUXILIARY VALVE (08) - HYDRAULICS

Схема запчастей Case 590L - (8-072) - BACKHOE AUXILIARY HIGH FLOW UPGRADE PARTS, CONTROL CABLES TO AUXILIARY VALVE (08) - HYDRAULICS
12
11
19
20
16
5
21
14
9
10
13
2
3
6
15
8
9
7
17
18
4
20
1
22
FIT
1:1
100%

Артикул

Название

Примечание

Количество

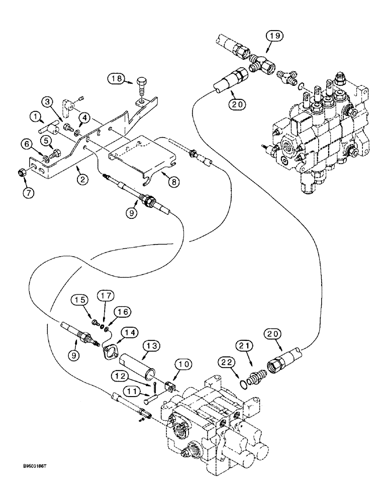
1

139227A1

BUTTON

KNOB - push pull, detent

1шт.

2

191076A1

LARGE PLATE

PLATE - control panel, hand held auxiliary hydraulics, left-hand mounting hole uses existing mounting hardware

1шт.

3

614-8025

BOLT,Hex, M8 x 1.25 x 25mm, Cl 8.8, Full Thd

- hex, full threads, 8 - 1.25 x 25 mm

2шт.

4

895-11008

WASHER,9mm ID x 16mm OD x 1.6mm Thk

- flat, 9 x 17 x 1.6 mm

2шт.

5

614-10025

BOLT,Hex, M10 x 1.5 x 25mm, Cl 8.8

2шт.

6

895-11010

WASHER,11mm ID x 20mm OD x 2mm Thk

- flat, 11 x 20 x 2 mm

2шт.

7

829-1410

NUT,M10 x 1.5, Cl 10.9

2шт.

8

139043A1

SUPPORT

BRACKET - cable support

1шт.

9

123942A1

CABLE

- push pull detent, lower auxiliary valve spool

1шт.

10

96790C2

CLEVIS COUPLING

CLEVIS - cable, push pull cable end

1шт.

11

96846C2

AXLE PIN,7.87mm OD x 19.78mm L

PIN - clevis

1шт.

12

733-2012

COTTER PIN,M2 x 12

PIN, SPLIT (COTTER), M2 x 12

1шт.

13

1340478C1

HOUSING

- cable, lower auxiliary valve spool

1шт.

14

1280055C2

FLANGE

- cable support, replaces 1280055C1

1шт.

15

614-6020

BOLT,Hex, M6 x 1 x 20mm, Cl 8.8, Full Thd

- hex, full threads, 6 - 1.0 x 20 mm

2шт.

16

895-11006

WASHER,6.6mm ID x 12mm OD x 1.6mm Thk

2шт.

17

892-11006

LOCK WASHER,M6

WASHER, LOCK, M6

2шт.

18

814-10045

BOLT,Hex, M10 x 1.5 x 45mm, Cl 8.8

- hex, 10 - 1.5 x 45 mm

1шт.

19

218-5220

TEE,37 Degree, 7/8"-14 x 7/8"-14, Fem Sw Run

- swivel, 7/8-14 inch flare branch x flare x swivel, at loader valve inlet section lower port tee, see Figure 8-48, 8-50, 8-52, 8-54, or 8-58 for tee at valve

1шт.

20

199215A1

HOSE

- 900 mm (35-7/16 inch) long, loader valve inlet section lower port to auxiliary valve

1шт.

21

218-5064

HYD CONNECTOR,1-1/16" - 12 Male JIC x 1-1/16" - 12 Male ORB

ADAPTER - straight, 1-1/16-12 inch flare x O-ring boss, replaces Ref. 12 plug on figure 8-48, Incl. Ref. 22

1шт.

22

237-6012

O-RING,0.116" Thk x 0.924" ID, -912, Cl 6, 90 Duro

12-1, 90 Duro, .924 ID x .116" Thk

1шт.

Выбрано товаров: 22