Запчасти Case 590L (9-118) - CAB AIR FILTER (09) - CHASSIS/ATTACHMENTS

Схема запчастей Case 590L - (9-118) - CAB AIR FILTER (09) - CHASSIS/ATTACHMENTS
1
6
3
8
1
2
1
4
5
7
FIT
1:1
100%

Артикул

Название

Примечание

Количество

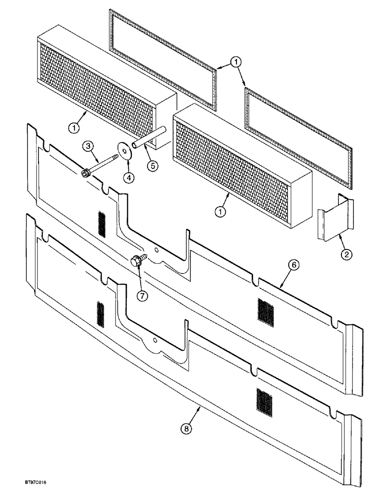
1

139768A1

FILTER, ELEMENT

FILTER - air, complete, includes gasket

2шт.

2

123206A2

SUPPORT

BRACKET - right-hand, air filter retainer

1шт.

3

461-33148

HEX SOC SCREW,5/16"-18 x 3"

BOLT - hex socket, 5/16 NC x 3 inch

1шт.

4

495-81121

WASHER,.344" x 1 1/2" x .060"

- flat, 11/32 x 1-1/2 x 1/16 inch

1шт.

5

140327A1

SPACER

- filter

1шт.

6

137864A1

COVER

SCREEN - filter, rear, no longer available, order Ref. 8

1шт.

7

281-54712

SCREW,Hex Wshr Hd, 1/4" - 20 x 3/4"

- Self tapping, hex washer head, 1/4 NC x 3/4 inch

1шт.

8

243603A1

COVER

SCREEN - filter, rear

1шт.

Выбрано товаров: 8